13th TÇMB International Technical Seminar and Exhibition will be held in Titanic Deluxe Belek, Antalya/Turkey, between 07.10.-10.10.2015. Our event is open for both national and international attendees from cement industry, service and technology providers. The event is important for the manufacturers to follow up the recent developments and creates an opportunity for the participants to consider the new investments...
Digital technologies and new business models are transforming traditional value chains in the construction equipment industry. The implications this...
On 28.07.2015 HeidelbergCement AG announced that it has entered into a purchase agreement with Italmobiliare S.p.A. for the acquisition of a 45 % share in Italcementi...
One occupational group constantly exposed to whole body vibrations are the drivers of construction machines. While they drive around on construction...
Conventional industrial bags made of paper tend to be vulnerable to rain and moisture. When exposed to direct rain on an unprotected pallet, a standard paper bag absorbs water and may weaken as a result. Handling may then become awkward, and the shelf life of the contents may...
HGH Infrared Systems, based in Paris, France, has released an improved generation of thermal scanning equipment. The new infrared scanner named “Kilnscan” monitors rotary kiln shell...
CRH Roadstone Limited is one of the oldest producers of cement and concrete products in Ireland. At the Waterford facility, front loaders transport screen limestone dust and sand from the quarry to the tiered loading area secured by a tall retaining...
In 2014, Technische Universität München (TUM) opened its new “Center for Advanced PCE Studies” which belongs to the Chair for Construction Chemistry at the Faculty of Chemistry in Garching near Munich/Germany. Recently, ZKG had the opportunity...
Together with plant manufacturers Scheuch GmbH and A TEC, the W&P cement plant in Wietersdorf has developed ExMercury, a system for the reduction of mercury emissions. We talked...
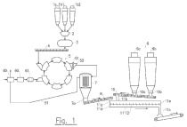
1 Development Holcim Spain started a project at their Carboneras plant (Fig. 1) to improve the pet-coke grinding performance in order to obtain safe...
The cement demand growth rate in Saudi Arabia declined to 2.4% in 2014 from 13.2% in 2013. The country has about a 60% market share in the GCC. But despite falling oil prices and challenging fiscal budgets in the GCC, the cement industry is expected...
Due to the current trend of maximizing the substitution rates of alternative fuels, whilst emission regulations are being made more restrictive, the cement industry is facing a new challenge with minimization of a special pollutant. Mercury emissions have...
(22) 21.05.2013 (43) 22.07.2015 (57) [Problems] An object is to provide a gypsum composition, a gypsum slurry, a gypsum hardened body, a gypsum-based...
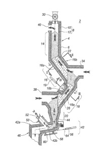
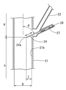
(22) 12.07.2013 (43) 30.07.2015 (57) The invention relates to a vertical-shaft kiln (2) for manufacturing a clinker, including: a tubular enclosure...
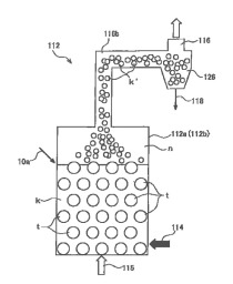
(22) 17.03.2015 (43) 02.07.2015 (57) An object of the present invention is to separate CO2 gas generated in a cement-manufacturing facility in a high...
(22) 10.01.2014 (43) 16.07.2015 (57) The present invention relates to a process for preparing a hydraulic cement based on cement or on cement clinker...