Cement manufacturing device
(22) 09.08.2013
(43) 08.07.2015
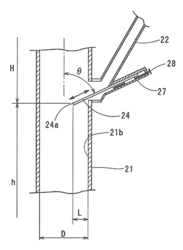
(57) Providing a cement production apparatus in which raw material is supplied into a duct with being dispersed uniformly so that heat-exchanging efficiency is improved by even preheating and clogging and the like are prevented, so that stable operation can be carried out. Between cyclones at an upper stage and a cyclone at a lower stage disposed below cyclones at an upper stage, a duct 21 is provided to introduce exhaust gas to the cyclones at the upper stage with distributing after flowing upward from the cyclone at the lower stage; at a lower position than a...
(22) 09.08.2013
(43) 08.07.2015
(57) Providing a cement production apparatus in which raw material is supplied into a duct with being dispersed uniformly so that heat-exchanging efficiency is improved by even preheating and clogging and the like are prevented, so that stable operation can be carried out. Between cyclones at an upper stage and a cyclone at a lower stage disposed below cyclones at an upper stage, a duct 21 is provided to introduce exhaust gas to the cyclones at the upper stage with distributing after flowing upward from the cyclone at the lower stage; at a lower position than a distribution part 23 of the duct 21, a material-supplying pipe 22 is connected for supplying cement raw material; at a connected part of the material-supplying pipe 22 to the duct 21, a material-guiding chute 24 on which the cement raw material is supplied from the material-supplying pipe 22 and which drops it into the duct 21 is provided with protruding into the duct 21; and the material-guiding chute 24 is formed to have a flat upper surface and to be expandable by sliding so that insertion depth of a tip end 24a from an inner-wall surface 21b of the duct 21 is 0.15 to 0.5 times of an inner diameter of the duct 21.
(71) Mitsubishi Materials Corporation, Chiyoda-ku, Tokyo 100-8117 (JP)
(84) Designated Contracting States: AL AT BE BG CH CY CZ DE DK EE ES FI FR GB GR HR HU IE IS IT LI LT LU LV MC MK MT NL NO PL PT RO RS SE SI SK SM TR Designated Extension States: BA ME
