Optimised vertical-shaft kiln for producing sulfoaluminous clinker
(22) 12.07.2013
(43) 30.07.2015
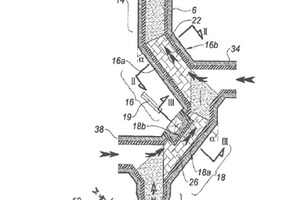
(57) The invention relates to a vertical-shaft kiln (2) for manufacturing a clinker, including:
a tubular enclosure (4) comprising from top to bottom:
– a feeder section (14);
– a decarbonatation section (16) exhibiting a slanted lower surface (16a);
– a clinkering section (18) exhibiting a slanted lower surface (18a);
– a first collection section (20) extending substantially vertically;
first extraction means (42) arranged for extracting the clinker from the first collection section (20);
means arranged for generating a first gas exhibiting a temperature...
(22) 12.07.2013
(43) 30.07.2015
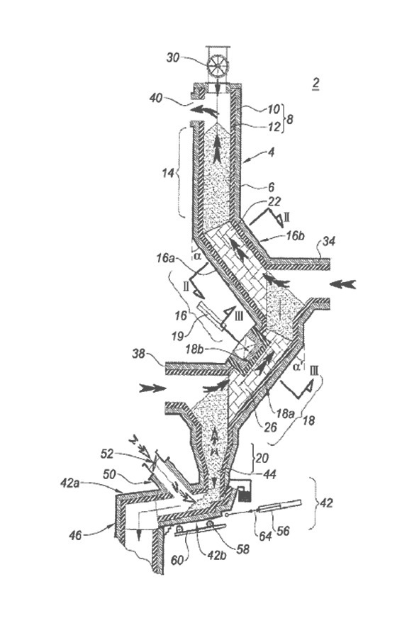
(57) The invention relates to a vertical-shaft kiln (2) for manufacturing a clinker, including:
a tubular enclosure (4) comprising from top to bottom:
– a feeder section (14);
– a decarbonatation section (16) exhibiting a slanted lower surface (16a);
– a clinkering section (18) exhibiting a slanted lower surface (18a);
– a first collection section (20) extending substantially vertically;
first extraction means (42) arranged for extracting the clinker from the first collection section (20);
means arranged for generating a first gas exhibiting a temperature ranging between 950 °C and 1250 °C, and for supplying the first gas in the decarbonatation section (16);
means arranged for generating a second oxidizing gas exhibiting a temperature ranging between 1250 °C and 1450 °C, and for supplying the second oxidizing gas in the clinkering section (18); and
first suction means for suctioning the first and second gas from the feeder section (14).
(71) Vicat, Paris La Defense (FR)
