Plant order for air pollution control system
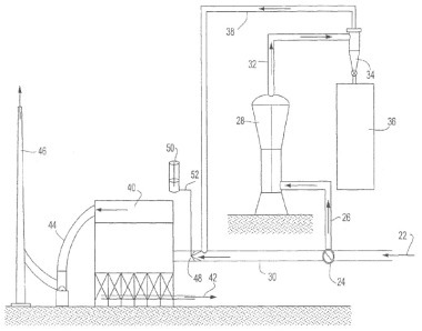
CTP Sinto America, LLC (CTPSA) has announced the sale of a Regenerative Thermal Oxidizer (RTO) system to Holcim (US) Inc. to supply air pollution control equipment for reduction of emissions by thermal oxidation from one of the cement kilns at their Midlothian (TX) facility. In this project, exhaust gases from the main baghouse and coal mill baghouse are combined and sent to the new system and then directed to the existing wet scrubber.
The project scope includes supply and installation of a CTP Model
AutoTherm6-4200 designed to handle 420000 Nm3/hr of gas, and duct modifications required to...
CTP Sinto America, LLC (CTPSA) has announced the sale of a Regenerative Thermal Oxidizer (RTO) system to Holcim (US) Inc. to supply air pollution control equipment for reduction of emissions by thermal oxidation from one of the cement kilns at their Midlothian (TX) facility. In this project, exhaust gases from the main baghouse and coal mill baghouse are combined and sent to the new system and then directed to the existing wet scrubber.
The project scope includes supply and installation of a CTP Model
AutoTherm6-4200 designed to handle 420000 Nm3/hr of gas, and duct modifications required to route the gas to the RTO and return it to the exhaust. CTP Sinto America will provide engineering, manufacturing, project management, field operations, installation and commissioning. Controls will be integrated into Holcim’s existing plant-wide DCS. The system will be ready for operation in 2016.
//www.ctp-us.com" target="_blank" >www.ctp-us.com:www.ctp-us.com
