Method of curing a gypsum calcination product
(22) 10.01.2014
(43) 15.07.2015
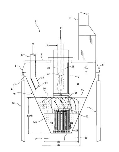
(57) A method of conditioning stucco comprises the steps of supplying a quantity of stucco particles to a reaction vessel, the stucco particles comprising calcium sulphate hemihydrate and/or calcium sulphate anhydrite, as well as calcium sulphate dihydrate; and conditioning the stucco particles at a temperature of at least 100 °C and a humidity of at least 70 %. During the step of conditioning the stucco particles, the bulk density of the stucco particles within the reaction vessel is at least 1 g/cm3.
(71) Saint-Gobain Placo SAS, 92150 Suresnes (FR)
(84) Designated...
(22) 10.01.2014
(43) 15.07.2015
(57) A method of conditioning stucco comprises the steps of supplying a quantity of stucco particles to a reaction vessel, the stucco particles comprising calcium sulphate hemihydrate and/or calcium sulphate anhydrite, as well as calcium sulphate dihydrate; and conditioning the stucco particles at a temperature of at least 100 °C and a humidity of at least 70 %. During the step of conditioning the stucco particles, the bulk density of the stucco particles within the reaction vessel is at least 1 g/cm3.
(71) Saint-Gobain Placo SAS, 92150 Suresnes (FR)
(84) Designated Contracting States: AL AT BE BG CH CY CZ DE DK EE ES FI FR GB GR HR HU IE IS IT LI LT LU LV MC MK MT NL NO PL PT RO RS SE SI SK SM TR Designated Extension States: BA ME
