These requirements are top of the agenda for plant optimization. In this issue, you can read about two exciting projects in this context.The Köhler Kalk lime plant founded in 1938 at the heart of ...
In 2014, the Turkish customer Bilim Makina bought an MPS 250 BK pet coke mill for a cement plant in Elazig. As the mill has been operating to the customer’s full satisfaction since its commissioning,...
The Cemex-Tec Center for Sustainable Development launched its call for the Cemex-Tec Award 2018, which, for the first time in eight years, will receive projects not only from Mexico and the rest of...
HeidelbergCement has announced that its subsidiary Lehigh Cement Company LLC has signed an agreement to sell its 51 % position in Lehigh White Cement Company to the minority shareholders Aalborg...
At the end of January HeidelbergCement announced that its Australian subsidiary Hanson Holdings Australia Pty Limited (Hanson Australia) had acquired the Alex Fraser Group, a leading provider of...
LafargeHolcim will strengthen its presence in India with the construction of a new cement plant in the state of Rajasthan in the north of the country. The CHF 200 million investment will serve...
Dal Teknik Makina carried out the Nuh cement plant modernization of kiln line # 1 project in Körfez/Turkey. The main scope of the project was to increase the production capacity as well as to decrease...
As of February 2018, Thorsten Hahn is new CEO at Holcim (Deutschland) GmbH. He takes over from Jens Diebold, the previous CEO, who is rejoining the parent company LafargeHolcim in Zürich. Thorsten...
On 26.02.2018, the World Cement Association announced the appointment of Bernard Mathieu as Director of its Climate Programme. In this role, he will lead the WCA CEOs’ Global Forum on Climate Change...
LafargeHolcim has acquired the Kendall Group, a leading aggregates and ready-mix concrete manufacturer with net sales of around CHF 33 million in 2017 operating in the south of England.The new...
Now that Gebr. Pfeiffer has sold more than 140 vertical mills in India, its neighbouring country Nepal also seems to be a success story: within just one year the fourth vertical roller mill has been...
thyssenkrupp Industrial Solutions has won a contract from LafargeHolcim to supply a new 3500 t/d cement clinker production plant in Morocco. The proj-ect will cover the engineering, procurement and...
In 2018 the Dres. Edith and Klaus Dyckerhoff-Stiftung will be presenting the 6th Klaus Dyckerhoff Prize. The prize is awarded for pioneering contributions to research on hydraulic binders, their ...
From 12.09.-14.09.2018 the International Conference on Building Material, ibausil, will take place in Weimar/Germany. The 20th edition of the conference will again be held at the Congress Center “Neue ...
LafargeHolcim will be a vital industrial partner in the construction of two major port projects, the DP World Posorja project in Ecuador and the Nador West Med complex in Morocco. These two projects ...
Loesche has been able to gain the Vicem (Vietnam Cement Corporation) Hoang Thach Cement Company as a new customer. Loesche received an order to supply a type LM 59.3+3 CS vertical roller mill (VRM) ...
In recent years Telschig Verfahrenstechnik GmbH has developed a new big-bag opening, emptying and handling system, which is successfully used in various industrial areas. The big-bags contain dusty ...
In the future, Schwenk Zementwerke KG, one of the largest cement and construction material manufacturers in Germany, is planning to even utilize other materials for the production of cement. Schwenk...
On 06.02.2018, ABB announced that its innovative gearless conveyor drive is available for use on a wider range of conveyor systems. Already proven on larger motors, the newest drive is designed for...
Köhler Kalk, a lime plant founded in 1938 and situated in Germany’s heartland, calcines the niche product dolomitic limestone. Just last year the company commissioned a new parallel-flow regenerative...
Italian plant engineering contractor QualiCal has designed and built a 150 t/d Synthesis regenerative vertical kiln (PFR – twin shaft burning unit) for Köhler Kalk. The kiln boasts rock-bottom...
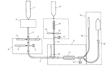
In order to ensure an economical and sustainable operation, the plant Denizli Çimento Sanayii T.A.Ş. belonging to the cement manufacturer Oyak Group therefore opted for alternative fuels and raw...
At its lime plant in Meißner, Köhler Kalk GmbH relies on high-tech equipment and methodologies for processing the raw material. To maintain their high quality standards daily inspection-, maintenance-...
The US American corporation Lehigh Texas (LT) operates a number of cement manufacturing plants across Texas. One of them is the Waco cement factory, which was due for modernization. The aim was to ...
Köhler Kalk in Northern Hesse commissioned a new kiln. Thanks to the rotary lobe compressors made by Aerzen, the plant manufactured by QualiCal counts among the most efficient solutions in its field.
The cement industry in the USA is in better shape than it was twelve years ago. Cement demand is increasing, capacities are much more modern and 13-15 major cement producers now exist. This report ...
With the current trend of maximizing the substitution rates of alternative fuels while emission regulations are becoming more restricted, the cement industry is facing various challenges. While for ...
In this study, 420 concrete laboratory samples were prepared according to 20 mixing designs with various water-to-cement ratios and different fiber contents. Three volumes of concrete with 3 % nano...
(22) 28.01.2016(43) 06.12.2017(57) Summary of the corresponding patent WO2016123301 (A1): The present invention includes a partially continuous countercurrent process for converting gypsum, by...
(22) 23.06.2017(43) 28.12.2017(57) The present invention relates to a method for producing a highly porous fine powdered slaked lime composition, comprising: a fluidisation step for forming said...
(22) 02.06.2017(43) 28.12.2017(57) Online control of theology of building material for 3D printing: A method of placing a flowable construction material comprising a hydraulic binder for building...
(22) 28.06.2017(43) 04.01.2018(57) The invention relates to a valve bag for bulk goods such as cement, gypsum, granular material, animal feed, or the like, comprising a standing bottom, preferably a...
(22) 29.06.2016(43) 04.01.2018(57) The present invention relates to a method to avoid the negative effect of both sulphur and vanadium presence contained in solid fuel used in cement clinker...
(22) 30.07.2015(43) 25.01.2018(57) A combustor according to the present invention comprises: a combustion chamber having a grate embedded therein and a combustion space formed above the grate; a fuel...
(22) 09.10.2017(43) 01.02.2018(57) A method for integrating a carbon capture process with a process for cement production. (71) General Electric Technology GmbH, Baden (CH)
(22) 02.03.2016(43) 08.02.2018(57) A method and a corresponding plant for denitrifying bypass exhaust gases in a cement clinker production plant. Raw meal is sintered in a rotary kiln and deacidified...
(22) 22.02.2017(43) 08.02.2018(57) The purpose of the invention is to provide a cement additive and a cement composition which have excellent solution stability, achieve a good fluidity holding effect...
(22) 31.05.2017(43) 08.02.2018(57) [Problem] To reduce the concentration of both SOx and NOx in combustion gas discharged from a cement kiln. [Solution] A method for operating a cement kiln 7,...
(22) 12.02.2016(43) 08.02.2018(57) An apparatus for calcination of gypsum includes a gypsum calciner having an interior wall surface with a circular or annular configuration as seen in its plan view,...
(22) 04.07.2017(43) 18.01.2018(57) A lime hydrator (20) integrated into a flue gas desulfurization system (18) or other industrial system is provided that provides a n in-situ variable rate of cured...
(22) 21.10.2013(43) 26.01.2018(57) In order to help spread increasingly viscous gypsum slurries uniformly in the production of gypsum products, a slurry distributor includes a feed conduit and a...
(22) 06.01.2016(43) 25.01.2018(57) The present invention discloses a test system and a test method for detecting the cement content of cement stirring pile body in real time at a construction site....
(22) 18.07.2017(43) 25.01.2018(57) Aspects of the present disclosure provides a dry cement composition including a mixture of Portland cement and fly ash, wherein said Portland cement is present in an...
Nationwide, companies in various industrial sectors are implementing Lean Six Sigma (LSS) in order to reduce the requirements and cost of production, to increase customer satisfaction and to improve...