Online control of rheology of building material for 3D printing
(22) 02.06.2017
(43) 28.12.2017
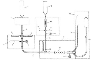
(57) Online control of theology of building material for 3D printing: A method of placing a flowable construction material comprising a hydraulic binder for building structural components layer-by-layer, such as for 3D concrete printing, said method comprising: preparing a fresh flowable construction material made of Portland cement, fine limestone filler materials, fine sands, water, and water reducing admixture and possibly a set or hardening accelerating admixture, conveying the flowable construction material to a deposition head (10), placing the construction...
(22) 02.06.2017
(43) 28.12.2017
(57) Online control of theology of building material for 3D printing: A method of placing a flowable construction material comprising a hydraulic binder for building structural components layer-by-layer, such as for 3D concrete printing, said method comprising: preparing a fresh flowable construction material made of Portland cement, fine limestone filler materials, fine sands, water, and water reducing admixture and possibly a set or hardening accelerating admixture, conveying the flowable construction material to a deposition head (10), placing the construction material through an outlet of the deposition head (10) in order to form a layer of construction material, before placing the construction material, adding a rheology-modifying agent to the construction material so that the placed material has an increased yield stress when compared to the material during the conveying step.
(71) Holcim Technology Ltd, Zürcherstrasse 156, 8645 Jona (CH)
