The Indian cement industry, currently in its 104th year of existence, has a 7 % share in global cement production. With over 425 million t/a capacity and about 280 million t/a production, it is the...
Sika has agreed to acquire KVK Holding a.s, headquartered in Prague/Czech Republic, a leading manufacturer of waterproofing and roofing systems as well as a wide range of mortar products. KVK...
The Industrial Solutions business area, the engineering, construction and naval shipbuilding arm of the thyssenkrupp Group, is systematically continuing its planets transformation program launched in...
Soma Cimento demonstrated their confidence in KHD´s advanced technology, by placing an order for the engineering and equipment supply of its new 4000 t/d clinker production line at Soma cement plant,...
FLSmidth Pfister and FLSmidth Ventomatic, both members of FLSmidth A/S, have implemented the new position of Global Sales Director. Stephan Oehme (50) was appointed for this position acting for both...
On 19.09.2017, HeidelbergCement announced that its Italian subsidiary Italcementi has entered into an agreement with Cementir Holding to buy Cementir Italia, including the fully controlled...
CRH plc, the international building materials group, announces that it has reached an agreement to acquire Ash Grove Cement Company (“Ash Grove”), a leading US cement manufacturer headquartered in...
In January 2017, right after the newly elected president of Gambia came to power endorsed with the slogan “Gambia has decided”, Cemtec Cement and Mining Technology and Salam Cement Company signed the...
At the beginning of September Claudius Peters Projects GmbH won a contract from Hargreaves Raw Material Services GmbH, a subsidiary of Hargreaves Services plc for the delivery of a coal grinding plant...
IK Investment Partners, a leading Pan-European private equity firm, announced that the IK 2007 Fund has reached an agreement with private equity funds managed by Blackstone to sell Schenck Process....
Loesche is supplying a CCG grinding plant (Compact Cement Grinding) to Siam City Cement Ltd. (Lanka) which will be used in the harbour area of Galle on the southern tip of Sri Lanka as part of an...
Based on its more than 50 years’ experience in training and education, VDZ has recently developed a new training course titled “Process Technology of Cement Production”. The new course will be held...
Intercem has been commissioned to optimize the raw meal dosing process at a major German cement plant. At the moment, raw meal dosing for one of the company’s kilns takes place upstream of the bucket...
The now available environmental data of the German cement industry 2016 show that last year German cement manufacturers once again invested decisively in plant optimisation. This keeps them in a...
As of 01.01.2018, the Portland cement plant operated to date by Gebr. Seibel GmbH & Co. KG in Erwitte (upper North Rhine-Westphalia) is being taken over by the thomas Group. The family-owned,...
A Pfeiffer vertical mill now won out in Nepal, too, as proven by the contract for the first MVR mill awarded by Kapilvastu Cement Udhyog Pvt. Ltd. to Gebr. Pfeiffer SE. This customer belonging to the...
At the beginning of 2017 Buzzi Unicem acquired 50 % of Ecotrade S.p.A., a company with approximately 30 years of experience in the commercialization and recycling of industrial waste and byproducts...
Çimsa, a subsidiary of Sabanci Holding, broke more new ground in its sector, upon the official registration of its R&D center established in Mersin in 2000, now called the Formula Center, by Turkish...
In connection with the three big orders Intercem has been granted by Cim Metal Group in West Africa, Cimfaso in Ouagadougou, Cim Ivoire in Abidjan and Cimasso in Bobo Dioulasso, a further step has...
Working in cooperation with Haver Niagara, Münstermann has supplied a de-dusting system to a dry mortar plant operated by Adwan in Saudi Arabia.The Haver Niagara conveyor belts and screening plants...
FLSmidth Airtech released product updates for its fabric filter and ESP technologies at the 14th edition of the TÇMB International Technical Seminar & Exhibition in Antalya/ Turkey, on...
Siemens is continuing to develop its PCS 7 Minerals Automation Standard Cemat (MinAS/Cemat) control system. The latest release V9.0 includes improvements to existing functions and the addition of new...
The semi-mobile version named A TEC Rocket Mill 2.00 single is a compact version installed in a container. The mill consists of one grinding chamber of approx. 2 m in diameter and 315 kW installed...
The heart of the Leube cement plant is its rotary kiln. For the 2016/2017 winter repair scheme, Leube invested some € 200 000 in a new shell section. “Our kiln’s rotating tube is 45 m long and...
A new market, important for the future, and only a few reference projects with which you can prove your expertise on the ground: the pressure to succeed in this situation is huge. Scheuch not only...
Polycarboxylate (PCE) superplasticizers were the focus of a high-level conference which took place on 27.09.–28.09.2017 at Technische Universität München. The event was attended by more than 200...
On 27.09.–28.09.2017, around 140 experts met for the 4th Alternative Fuels Symposium in Duisburg to discuss the worldwide utilization of alternative fuels. The event organized by MVW Lechtenberg &...
This year’s VDZ Annual Cement Conference 2017 held on 19.09.-20.09.2017 welcomed more than 350 experts from the cement and concrete industry and related sectors to Düsseldorf/Germany.
A state-of-the-art cement plant has resolved material accumulation issues in its limestone silo by combining high-efficiency cleaning techniques with powerful, strategically-placed air cannons to...
Ohorongo Cement (PTY) Ltd., part of Schwenk Zement KG, is the only cement manufacturer in Namibia, Africa. Its mission is to cover the national demand for high-quality cement. Up to now, the company...
A limestone producer located in Europe pulverizes limestone (CaCO3) with high calcium carbonate content as filling material for the construction industry. Brick manufacturing is a frequent application...
The gypsum boards (GB) market in Ukraine is served by two local producers and several importers. For several years now, on account of macroeconomic factors, no growth has been registered on this...
This article describes the development of compositions, their structure and properties of such composite astringents. The results show that in composite gypsum binders there is no corrosion of basalt...
The present paper investigates aspects of the crystallization of gypsum dihydrate during the artificial “aging” of calcined gypsum binder. On the basis of these data, it then describes the...
(22) 15.12.2015(43) 22.06.2017(57) A system comprises a cement mixer, a supply tank to supply dry cement to the cement mixer, and a dry cement height sensor to measure the height of the dry cement in...
(22) 07.12.2016(43) 15.06.2017(57) The invention relates to a method for processing a hot gas stream charged with dust particles and containing salt, in particular containing chloride, wherein said...
(22) 18.11.2016(43) 01.06.2017(57) The present invention relates to a heat exchange condenser which comprises carbon steel tubes coated with a custom-made enamel. The invention further relates to the...
(22) 10.02.2005(43) 30.06.2017(57) Summary of corresponding patent WO2005092583 (A1): An agitation mechanism for a gypsum processing apparatus which includes a housing (12) having a top wall, a bottom...
(22) 17.12.2015(43) 15.06.2017(57) The invention relates to a process for manufacturing a gypsum slurry by bringing together and mixing gypsum, water, wax powder and optionally other components,...
(22) 20.01.2017(43) 27.07.2017(57) A method to thermally convert alternative fuels within a loop seal reactor by utilizing pre-heated/calcined cement meal as the heat source within which alternative...
(22) 17.02.2017(43) 24.08.2017(57) The special features of the cement silo for holding cement powder and other powdered materials using compression to transport large amounts with land and marine...
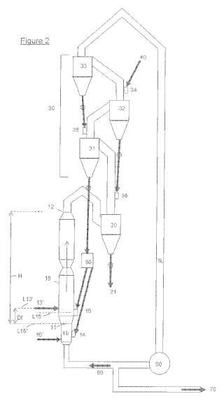
(22) 08.04.2016(43) 28.09.2017(57) A method for the treatment of exhaust gases from the production of cement clinker in a rotary kiln, in which raw materials are ground in a mill to form raw meal, raw...
(22) 16.07.2012(43) 29.09.2017(57) Summary of the corresponding patent EP2559674 (A1): Producing a hydraulically reactive clinker, comprises sintering a raw meal comprising calcium oxide, aluminum...
(22) 08.04.2014(43) 29.09.2017(57) Summary of the corresponding patent WO2014170729 (A1): In a cement clinker production process in which raw mix is preheated with use of the hot exhaust gases from a...
(22) 29.09.2015(43) 21.09.2017(57) A chemical additive for calcium sulphoaluminate-modified Portland cement comprises the following substances: (a) at least one alkanolamine borate; (b) at least one...
(22) 30.11.2015(43) 21.09.2017(57) Method and installation for calcining cement raw meal in a calciner whereby fuel and a calciner oxidant having an oxygen content of at least 30 % vol are introduced...
(22) 06.06.2016(43) 14.09.2017(57) An environmentally friendly cement comprises (1) an active filler comprising waste materials composed of a thermal insulation wool and a waste thereof; (2) an inert...
(22) 17.03.2017(43) 21.09.2017(57) A method for manufacturing clinker comprising sintering raw meal in a kiln to clinker, preheating the raw meal in a preheater using a main flue gas stream from the...
(22) 28.02.2017(43) 08.09.2017(57) The invention relates to a classifier (10) for classifying a material flow, comprising a rotatable rotor cage (12), a guide vane ring (14) arranged around the rotor...