U-shaped combustor and method for use in cement plants
(22) 20.01.2017
(43) 27.07.2017
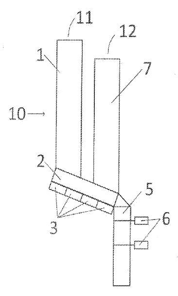
(57) A method to thermally convert alternative fuels within a loop seal reactor by utilizing pre-heated/calcined cement meal as the heat source within which alternative fuels are immersed, subjected to drying, pyrolysis and subsequently charred, and an apparatus utilized to practice such method.
(71) FLSmidth A/S, Vigerslev Alle 77, 2500 Valby (DK)
(84) ARIPO (BW, GH, GM, KE, LR, LS, MW, MZ, NA, RW, SD, SL, ST, SZ, TZ, UG, ZM, ZW), Eurasian (AM, AZ, BY, KG, KZ, RU, TJ, TM), European (AL, AT, BE, BG, CH, CY, CZ, DE, DK, EE, ES, FI, FR, GB, GR, HR, HU, IE, IS, IT, LT,...
(22) 20.01.2017
(43) 27.07.2017
(57) A method to thermally convert alternative fuels within a loop seal reactor by utilizing pre-heated/calcined cement meal as the heat source within which alternative fuels are immersed, subjected to drying, pyrolysis and subsequently charred, and an apparatus utilized to practice such method.
(71) FLSmidth A/S, Vigerslev Alle 77, 2500 Valby (DK)
(84) ARIPO (BW, GH, GM, KE, LR, LS, MW, MZ, NA, RW, SD, SL, ST, SZ, TZ, UG, ZM, ZW), Eurasian (AM, AZ, BY, KG, KZ, RU, TJ, TM), European (AL, AT, BE, BG, CH, CY, CZ, DE, DK, EE, ES, FI, FR, GB, GR, HR, HU, IE, IS, IT, LT, LU, LV, MC, MK, MT, NL, NO, PL, PT, RO, RS, SE, SI, SK, SM, TR), OAPI (BF, BJ, CF, CG, CI, CM, GA, GN, GQ, GW, KM, ML, MR, NE, SN, TD, TG)
