Processing of bypass dust
(22) 07.12.2016
(43) 15.06.2017
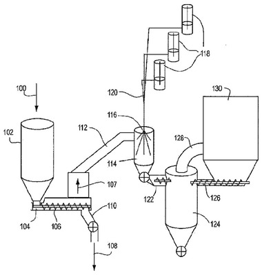
(57) The invention relates to a method for processing a hot gas stream charged with dust particles and containing salt, in particular containing chloride, wherein said gas stream is drawn off from a furnace in cement production.
(71) DAW Deutsche Abfallwirtschaftsgesellschaft NRW mbH, Alte Ziegelei 9, 51491 Overath (DE)
(84) ARIPO (BW, GH, GM, KE, LR, LS, MW, MZ, NA, RW, SD, SL, ST, SZ, TZ, UG, ZM, ZW), Eurasian (AM, AZ, BY, KG, KZ, RU, TJ, TM), European (AL, AT, BE, BG, CH, CY, CZ, DE, DK, EE, ES, FI, FR, GB, GR, HR, HU, IE, IS, IT, LT, LU, LV, MC, MK, MT, NL, NO,...
(22) 07.12.2016
(43) 15.06.2017
(57) The invention relates to a method for processing a hot gas stream charged with dust particles and containing salt, in particular containing chloride, wherein said gas stream is drawn off from a furnace in cement production.
(71) DAW Deutsche Abfallwirtschaftsgesellschaft NRW mbH, Alte Ziegelei 9, 51491 Overath (DE)
(84) ARIPO (BW, GH, GM, KE, LR, LS, MW, MZ, NA, RW, SD, SL, ST, SZ, TZ, UG, ZM, ZW), Eurasian (AM, AZ, BY, KG, KZ, RU, TJ, TM), European (AL, AT, BE, BG, CH, CY, CZ, DE, DK, EE, ES, FI, FR, GB, GR, HR, HU, IE, IS, IT, LT, LU, LV, MC, MK, MT, NL, NO, PL, PT, RO, RS, SE, SI, SK, SM, TR), OAPI (BF, BJ, CF, CG, CI, CM, GA, GN, GQ, GW, KM, ML, MR, NE, SN, TD, TG)
