Content

Editorial

Wishing you a great start to the new year!

The new year already has a tight grip on us. Along with our normal everyday tasks, we are now busy initiating planned projects and contemplating new plans. What else does the new year have in store for us? The question of how things are going in Europe ’ s construction sector was focused on at the 82nd Euroconstruct Conference in Barcelona/Spain, this past November. ...

more

Spotlight

14.03.-15.03.2017, WEIMAR/GERMANY

Weimar Gypsum Conference 2017

The 3rd Weimar Gypsum Conference will take place at the Leonardo Hotel in Weimar from 14.03.-15.03.2017. The conference will be organized by the...

more
FLSMIDTH

FLSmidth receives cement plant order in Bolivia

FLSmidth has received an order from F­ábrica Nacional de Cemento SA (Fancesa) for the supply of equipment to facilitate a complete cement production line with a capacity of 2100 t/d including plant design, procurement, and civil engineering ...

more
A TEC GROUP

A TEC Rocket Mill RM 2.50 double starts operation in Austria

To optimize the production of highly caloric residue-derived fuels for the cement industry the Austrian company. A.S.A. installed A TEC’s Rocket Mill RM 2.50 double in their treatment plant in Wiener Neustadt, Vienna/Austria. ­After seven months of engineering, construction works and installation on-site A TEC’s Rocket Mill was commissioned on 07.11.2016. ...

more
FLSMIDTH MAAG GEAR AG

Helmut Holz new CEO

Helmut Holz is the new CEO of FLSmidth MAAG Gear, Winterthur/Switzerland. He follows Simon Jensen, who has accepted a new position as Managing...

more

Events

VII FORUM AND III MULTI-COUNTRY MISSION ON CLIMATE CHANGE AND CO-PROCESSING, SAO PAULO/BRAZIL

Alliance for development and sustainability

According to the motto alliance of industrial processes and environmental control, the VII Forum and III Multi-country Mission on Climate Change and...

more
GEBR. PFEIFFER READY2GRIND TECHNICAL PANEL, FORT LAUDERDALE, FL/USA

Innovations and trends in grinding technology

About 55 participants accepted the invitation of Gebr. Pfeiffer Inc. to visit Fort Lauderdale, FL/USA, from 04.12.– 06.12.2016. The first Gebr. Pfeiffer ready2grind Technical Panel in Florida was jointly presented by Haver & Boecker and the Redecam Group. The attendees came from eleven countries ...

more
21st Arab International Cement Conference and Exhibition, Abu Dhabi/UAE

Arab cement industry met in Abu Dhabi

The Arab Union for Cement and Building Materials (AUCBM) is an inter-Arab organization, affiliated to the League of Arab States and Council of Arab Economic Unity. AUCBM organized its 21st Arab International Cement Conference and Exhibition at the Abu Dhabi National Exhibition Centre – ADNEC ...

more
82nd EUROCONSTRUCT CONFERENCE, BARCELONA/SPAIN

European construction sector will keep growing

The previous Euroconstruct conference was held a few days before the referendum in the UK, so the Barcelona conference has provided the first opportunity to assess the repercussions on the European construction sector. ...

more

Markets and Trends

ONESTONE CONSULTING S.L.

Drives for large vertical roller mills

Vertical roller mills (VRM) have dominated raw materials and coal grinding for many years, and in cement and slag grinding the market share of VRM is constantly growing with larger mill sizes. In the period 2009 to 2015, of the 1209 new mills that were ordered by the cement industry outside China, 661 units or 55 % were VRM, the remaining 45 % were other types such as ball mills, high-pressure grinding rollers (HPGR) and horizontal mills. ...

more

Process

Materials

KAZAN STATE UNIVERSITY OF ARCHITECTURE AND ENGINEERING

Features of the microstructure and phase composition of hardened cement paste prepared by mechano-chemical activation of the binder

The article deals with the influence of mechanical activation of the cement suspension on the physical and mechanical properties of mass concrete. The high growth rate of the cement composites is determined by the high level of heat emission from the hardened cement paste when the structure starts to form. ...

more

Engineering

Patents

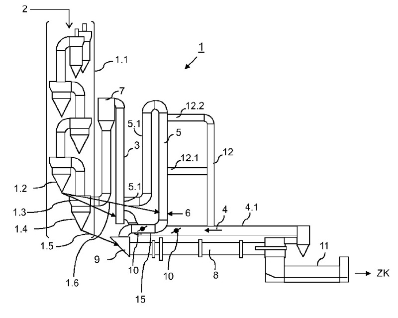
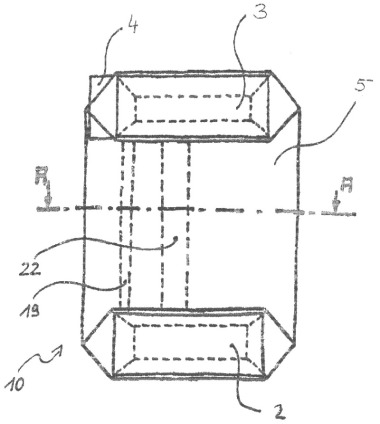
US 2016/0332781 A1

Paper bag

(22) 26.11.2014 (43) 17.11.2016 (57) A paper sack for bulk material such as cement, gypsum, granulate, animal feed or similar, having a base,...

more