Paper bag
(22) 26.11.2014
(43) 17.11.2016
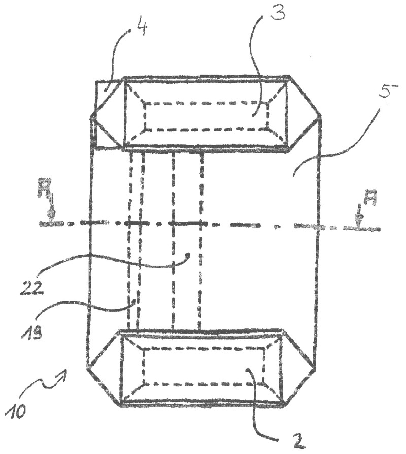
(57) A paper sack for bulk material such as cement, gypsum, granulate, animal feed or similar, having a base, preferably a cross bottom or block bottom, and having an upper part which is disposed opposite the base and in which a valve tube is optionally arranged for filling the paper sack, wherein the paper sack has at least one paper layer having an overlap which is sealingly adhesively bonded toward the sack interior; and wherein the layer of the paper layer facing the sack interior has an air-permeable region in the region of the overlap which is covered by the...
(22) 26.11.2014
(43) 17.11.2016
(57) A paper sack for bulk material such as cement, gypsum, granulate, animal feed or similar, having a base, preferably a cross bottom or block bottom, and having an upper part which is disposed opposite the base and in which a valve tube is optionally arranged for filling the paper sack, wherein the paper sack has at least one paper layer having an overlap which is sealingly adhesively bonded toward the sack interior; and wherein the layer of the paper layer facing the sack interior has an air-permeable region in the region of the overlap which is covered by the layer of the paper layer facing the sack exterior. The at least one paper layer at least regionally has a water-repellent/water-tight coating facing the sack exterior.
(71) Dy-Pack Verpackungen Gustav Dyckerhoff GmbH, Wenden-Gerlingen (DE)
