Desulfurization apparatus and exhaust gas processing system using the same
(43) 24.11.2016
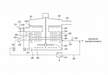
(57) A desulfurization apparatus employing the limestone-gypsum method has: a desulfurization unit where an absorbing liquid containing a calcium compound contacts with an exhaust gas to remove a sulfur oxide from the exhaust gas; a removal unit for removing gypsum, generated from the sulfur oxide, from the absorbing liquid; and a cleaning unit for cleaning the exhaust gas after contacting, using a cleaning liquid, thereby removing calcium-containing particles from the exhaust gas. In the removal unit, the gypsum is separated into larger gypsum particles and smaller gypsum...
(43) 24.11.2016
(57) A desulfurization apparatus employing the limestone-gypsum method has: a desulfurization unit where an absorbing liquid containing a calcium compound contacts with an exhaust gas to remove a sulfur oxide from the exhaust gas; a removal unit for removing gypsum, generated from the sulfur oxide, from the absorbing liquid; and a cleaning unit for cleaning the exhaust gas after contacting, using a cleaning liquid, thereby removing calcium-containing particles from the exhaust gas. In the removal unit, the gypsum is separated into larger gypsum particles and smaller gypsum particles using a cyclone separator, and the absorbing liquid containing the larger gypsum particles is filtrated and the filtrate is supplied to the cleaning unit as the cleaning liquid. An exhaust gas processing system has the desulfurization apparatus, a denitration apparatus and a carbon dioxide recovery apparatus. A post-recovery gas is partially supplied to the desulfurization apparatus as an oxygen source.
(73) IHI Corp (JP)
