Cement kiln dust treatment system and method
(43) 24.11.2016
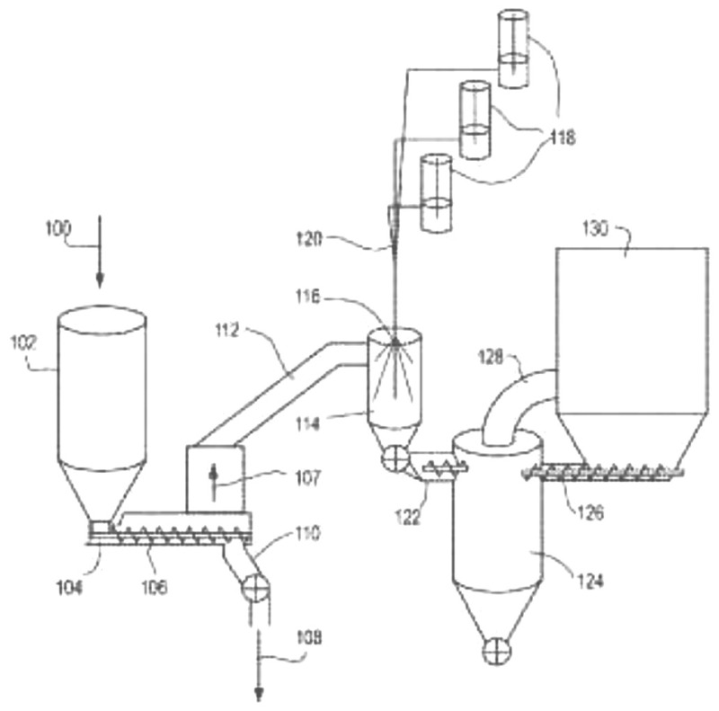
(57) A system and method for treating cement kiln dust is provided. The method includes the steps of receiving cement kiln dust (CKD) from a kiln; heating the collected CKD; forming a gas stream of vaporized metal and CKD by sufficient heating to separate at least one heavy metal from the collected CKD stream to create a cleaned CKD stream and a metal stream; providing a water soluble alkaline-earth metal polysulfide; combining the heavy metal stream with the water soluble alkaline-earth metal sulfide to create a combined stream; and removing at least a portion of one heavy...
(43) 24.11.2016
(57) A system and method for treating cement kiln dust is provided. The method includes the steps of receiving cement kiln dust (CKD) from a kiln; heating the collected CKD; forming a gas stream of vaporized metal and CKD by sufficient heating to separate at least one heavy metal from the collected CKD stream to create a cleaned CKD stream and a metal stream; providing a water soluble alkaline-earth metal polysulfide; combining the heavy metal stream with the water soluble alkaline-earth metal sulfide to create a combined stream; and removing at least a portion of one heavy metal from the combined stream.
(73) Mercutek LLC (US)
