Content

Editorial

Spotlight

LOESCHE GMBH

Votorantim relies on the Loesche brand worldwide

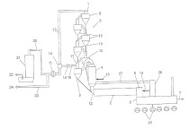
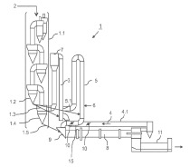
For the project “Sivas 2 RM” in Turkey, the customer Tianjin Cement Industry Design & Research Institute (TDI) has placed an order for a type LM 48.4 Loesche mill for grinding cement raw material. The proven mill for the grinding of cement raw material will be designed with a capacity of 420 t/h and the material ground to a fineness of 14 % R 90 μm. The gearbox has a power output of 2860 kW. The...

more
CLAUDIUS PETERS PROJECTS GMBH

Claudius Peters Pacpal Palletizer for Bolivia

The Spanish consortium, Ute Oruro, awarded a contract to Claudius Peters Projects for the delivery of a new packing and palletizing plant for a new cement plant in Oruro/Bolivia. Ute Oruro consists of Sacyr Industrial and Imasa Ingenieria y Proyectos S.A., they received a common ...

more

Products

HAVER & BOECKER MACHINERY DIVISION⇥ HALL/STAND B2.149

Complete range of loading systems

The prospect of achieving a higher output, reliable and improved availability of the whole packing plant, increased health and safety awareness,...

more
ENDRESS+HAUSER⇥ HALL/STAND 4-519

Bulk material in focus

The “People for Process Auto­mation” are showing off their portfolio for the bulk materials industry and various other sectors. The spectrum includes...

more
SAMSON MATERIALS HANDLING LTD.⇥ HALL/STAND C2.245

Mobile solutions in bulk materials handling

Samson Materials Handling Limited specializes in the design and manufacture of mobile bulk materials handling equipment for surface installation...

more

Plant report

Markets and Trends

ONESTONE CONSULTING S.L.

Trends in cement dispatch

Traditional ways of dispatching cement are changing and cement producers are paying more attention to process improvements. This article provides an overview about the latest trends, the needs of the producers and how they are met by the equipment ...

more

Process

Materials

HEIDELBERGCEMENT TECHNOLOGY CENTER

Limestone requirements for high-limestone cements

Tests performed on mortars permit the conclusion that, within the scope examined here, neither chemical composition nor mineral-phase type and content have significant effects on workability ...

more

Patents

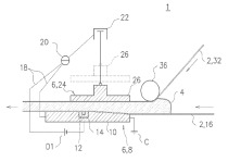
WO 2016/015832 A1

Method for grinding cement clinker

(22) 16.07.2015 (43) 04.02.2016 (57) Method of grinding cement clinkers comprising at least two kinds of clinker phases with differing grindability,...

more
WO 2016/024328 A1

Combustion device

(22) 12.08.2014 (43) 18.02.2016 (57) [Problem] To provide a combustion device for a pellet fuel, the device being able to suppress the accumulation...

more