Method for grinding cement clinker
(22) 16.07.2015
(43) 04.02.2016
(57) Method of grinding cement clinkers comprising at least two kinds of clinker phases with differing grindability, comprising the steps: – feeding the cement clinker (100) to a first milling stage – grinding the cement clinker (100) in the first milling stage with a setting of grinding power and grinding time that allows grinding an easier to grind phase to a predetermined maximum particle size while a harder to grind phase maintains a particle size larger than the predetermined maximum particle size – transferring the output from the first mill (101) to a first...
(22) 16.07.2015
(43) 04.02.2016
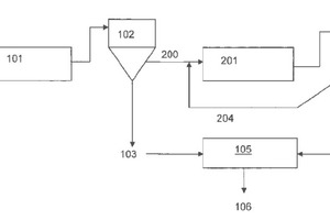
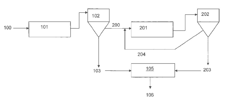
(57) Method of grinding cement clinkers comprising at least two kinds of clinker phases with differing grindability, comprising the steps: – feeding the cement clinker (100) to a first milling stage – grinding the cement clinker (100) in the first milling stage with a setting of grinding power and grinding time that allows grinding an easier to grind phase to a predetermined maximum particle size while a harder to grind phase maintains a particle size larger than the predetermined maximum particle size – transferring the output from the first mill (101) to a first separator (102) dividing the output into a first fraction (103) with the predetermined maximum particle size and a second fraction (200) with a larger particle size – transferring the second fraction (200) with a larger particle size to a second milling stage and – grinding the second fraction (200) with a larger particle size in the second milling stage to a final maximum particle size smaller than the predetermined maximum particle size.
(71) HeidelbergCement AG, Berliner Str. 6, 69120 Heidelberg (DE)
(84) ARIPO (BW, GH, GM, KE, LR, LS, MW, MZ, NA, RW, SD, SL, ST, SZ, TZ, UG, ZM, ZW), Eurasian (AM, AZ, BY, KG, KZ, RU, TJ, TM), European (AL, AT, BE, BG, CH, CY, CZ, DE, DK, EE, ES, FI, FR, GB, GR, HR, HU, IE, IS, IT, LT, LU, LV, MC, MK, MT, NL, NO, PL, PT, RO, RS, SE, SI, SK, SM, TR), OAPI (BF, BJ, CF, CG, CI, CM, GA, GN, GQ, GW, KM, ML, MR, NE, SN, TD, TG)
