Gypsum board manufacturing method and manufacturing device
(22) 24.03.2014
(43) 25.02.2016
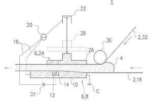
(57) As a lower forming plate 8, a forming plate having: a lower plate main body 10 constituted from an electrically conductive material; and a lower embedded electrode 12 embedded in the lower plate main body 10, the lower embedded electrode 12 being electrically insulated from the lower plate main body 10 by an insulator 14 and being embedded so as for a portion thereof to be exposed on the surface of the lower plate main body 10 making contact with a lower lining paper sheet 16 is used.
(71) Yoshino Gypsum Co., Ltd., Tokyo (JP)
(22) 24.03.2014
(43) 25.02.2016
(57) As a lower forming plate 8, a forming plate having: a lower plate main body 10 constituted from an electrically conductive material; and a lower embedded electrode 12 embedded in the lower plate main body 10, the lower embedded electrode 12 being electrically insulated from the lower plate main body 10 by an insulator 14 and being embedded so as for a portion thereof to be exposed on the surface of the lower plate main body 10 making contact with a lower lining paper sheet 16 is used.
(71) Yoshino Gypsum Co., Ltd., Tokyo (JP)
