Method for operating a plant for producing cement
(22) 04.04.2014
(43) 11.02.2016
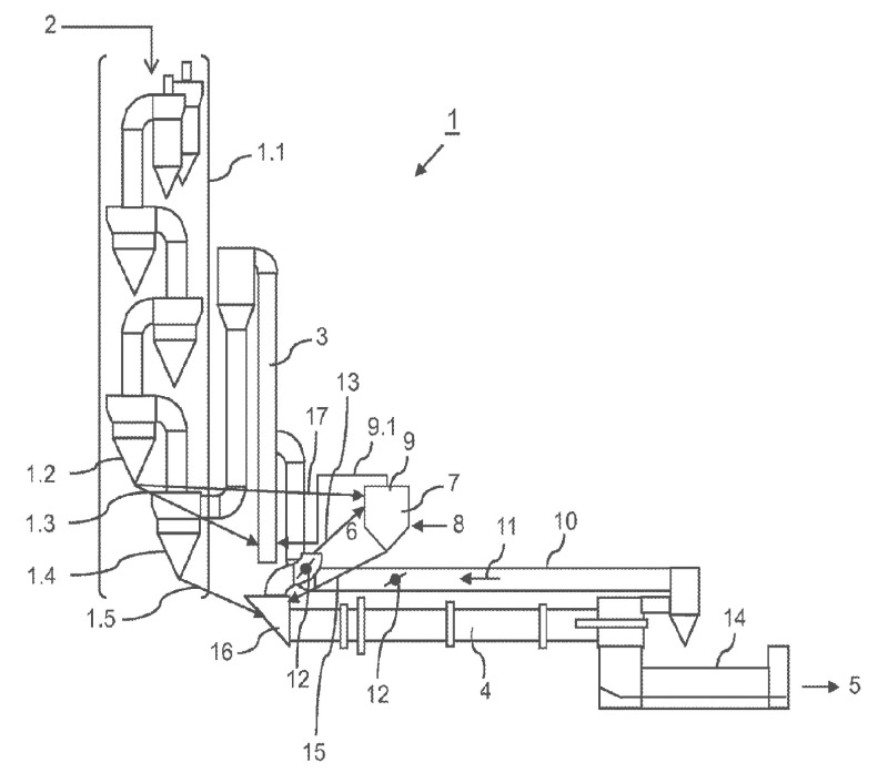
(57) A method for operating a plant for producing cement clinker from raw meal having, as viewed in the materials flow direction, at least one calciner for deacidifying the raw meal, and at least one rotary kiln for sintering the deacidified raw meal to form cement clinker. The deacidified raw meal, after passing through the calciner, flows via a cyclone preheating stage into the rotary kiln. Exhaust gases are guided from the rotary kiln into a reactor, arranged between the rotary kiln and the calciner, with fuel being fed into the reactor...
(22) 04.04.2014
(43) 11.02.2016
(57) A method for operating a plant for producing cement clinker from raw meal having, as viewed in the materials flow direction, at least one calciner for deacidifying the raw meal, and at least one rotary kiln for sintering the deacidified raw meal to form cement clinker. The deacidified raw meal, after passing through the calciner, flows via a cyclone preheating stage into the rotary kiln. Exhaust gases are guided from the rotary kiln into a reactor, arranged between the rotary kiln and the calciner, with fuel being fed into the reactor superstoichiometrically in relation to the dwell time of the exhaust gases in the reactor, so that carbon dioxide in the exhaust gases is reduced to form carbon monoxide. The carbon monoxide is used as a reducing agent for nitrogen oxides, which are chemically reduced in the reactor independently of the short dwell time in the calciner.
(71) KHD Humboldt Wedag GmbH, Koeln (DE)
(73) KHD Humboldt Wedag GmbH, Koeln (DE)
