Combustion device
(22) 12.08.2014
(43) 18.02.2016
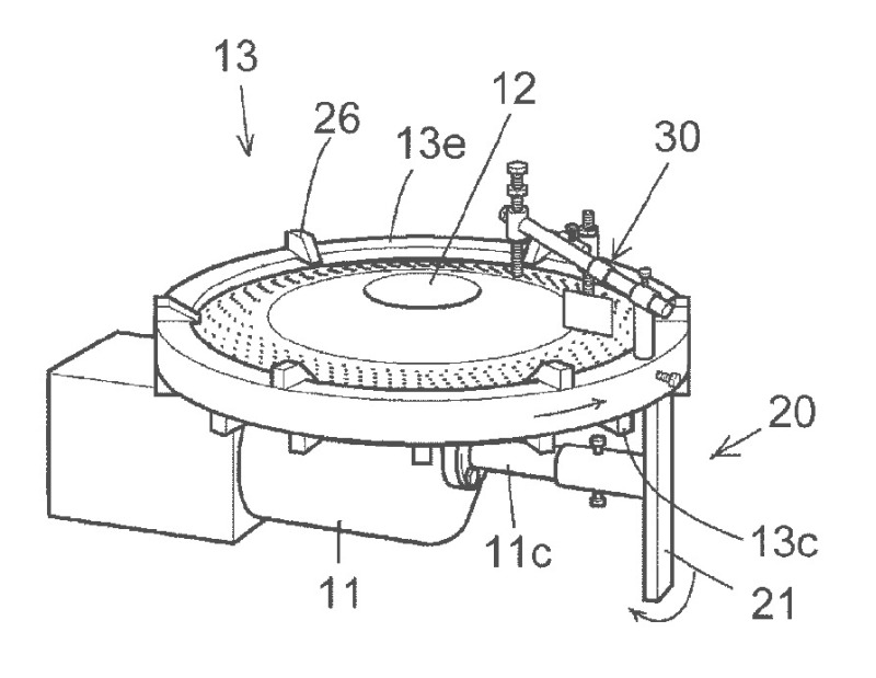
(57) [Problem] To provide a combustion device for a pellet fuel, the device being able to suppress the accumulation or generation of clinker in a grate part and improve a combustion state of solid fuel having a pellet shape or the like. [Solution] The present invention comprises a fuel transport part 11 that transports a solid fuel, a fuel discharge part 12 that opens vertically upward, and a grate part 13 that combusts the solid fuel. The grate part has a conical fixed grate 13d, a rotating grate 13e that is rotatably disposed on an upper part of the peripheral...
(22) 12.08.2014
(43) 18.02.2016
(57) [Problem] To provide a combustion device for a pellet fuel, the device being able to suppress the accumulation or generation of clinker in a grate part and improve a combustion state of solid fuel having a pellet shape or the like. [Solution] The present invention comprises a fuel transport part 11 that transports a solid fuel, a fuel discharge part 12 that opens vertically upward, and a grate part 13 that combusts the solid fuel. The grate part has a conical fixed grate 13d, a rotating grate 13e that is rotatably disposed on an upper part of the peripheral edge of the fixed grate, and a grate rotary vane 20 that rotates the rotating grate. Clinker is sandwiched and pulverized into small pieces by a rotating grate claw 26 formed on the inside of the rotating grate and a fixed 13c grate claw 27 that protrudes upward from the fixed grate, and the small pieces are removed from the outer peripheral edge of the grate part by a clinker removal device that rotates together with the rotating grate.
(71) Niko Engineering Co., Ltd., Shizuoka (JP)
(84) ARIPO (BW, GH, GM, KE, LR, LS, MW, MZ, NA, RW, SD, SL, SZ, TZ, UG, ZM, ZW), Eurasian (AM, AZ, BY, KG, KZ, RU, TJ, TM), European (AL, AT, BE, BG, CH, CY, CZ, DE, DK, EE, ES, FI, FR, GB, GR, HR, HU, IE, IS, IT, LT, LU, LV, MC, MK, MT, NL, NO, PL, PT, RO, RS, SE, SI, SK, SM, TR), OAPI (BF, BJ, CF, CG, CI, CM, GA, GN, GQ, GW, KM, ML, MR, NE, SN, TD, TG)
