Content

Editorial

Here’s to the New Year 2017!

Another eventful year is drawing to its close. The overriding issues in the cement and lime industry were addressed at the General Assembly of the International Lime Association in Washington and the recently concluded AICCE21 in Abu Dhabi. These include the use of alternative fuels and the possibilities for lowering energy costs, CO2 and other harmful emissions. Reducing ...

more

Spotlight

AUMUND FÖRDERTECHNIK GMBH

Knauf trusts in Aumund Technology

Six years after the commissioning of its first Samson Material Feeder at its UK plant in Immingham, Knauf has placed an order with Aumund...

more
LOESCHE GMBH

The power of innovative engineering: The biggest Loesche mill type LM 70.4+4 CS in successful operation with the new COPE drive

The United Cement Company of Nigeria (Ltd), Unicem, commissioned their new cement plant 2 at Mfamosing, in Cross River State, Nigeria successfully in September 2016. Loesche received the order for two vertical roller mills: one type LM 60.4 for grinding cement raw material and one LM 70.4+4 CS, the biggest Loesche VRM built for grinding cement clinker. ...

more

Products

Events

INTERNATIONAL LIME ASSOCIATION GENERAL ASSEMBLY, WASHINGTON DC/USA

Global lime industry meets to share experience

From 12.10.-14.10.2016, around 150 delegates from 25 countries and 18 exhibitors met in Washington DC for the General Assembly of the International...

more

Interview

Plant report

Materials

Engineering

GEOMETRICA

Large volume bulk storage

Manufacturers of building materials need to store large quantities of raw inputs and fuel. Limestone is the major raw material for cement...

more

Patents

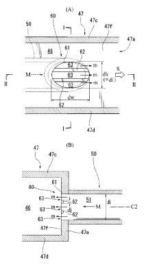
WO 2016/166777 A1

Water resistant bag

(22) 17.04.2015 (43) 20.10.2016 (57) The present invention relates to a bag (1) consisting of at least two paper sheets superimposed one each other...

more

Management