Formation independent cement evaluation with active gamma ray detection
(22) 21.04.2015
(43) 27.10.2016
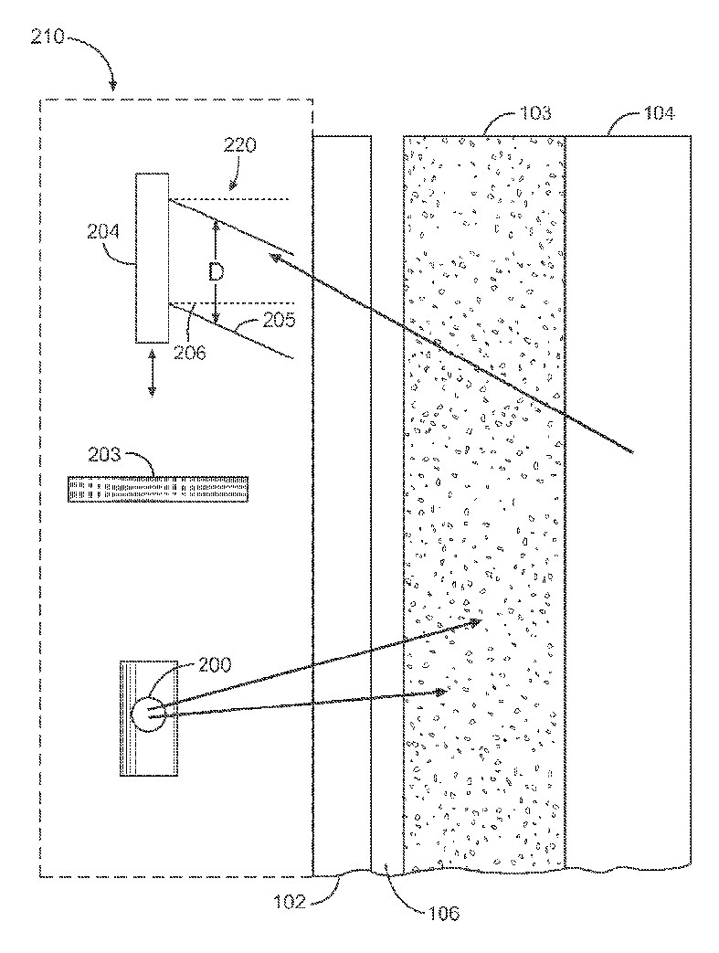
(57) A method for cement evaluation may include generating a gamma ray, from a radioactive source, into cement disposed between a casing and a geological formation. Photons reflected from the geological formation and the cement are detected on a gamma detector having a collimator. A detector-to-source distance, a collimator angle, and/or a collimator diameter are set to provide an energy spectra independent of the geological formation. The quality of the cement may be determined based on the energy spectra of the detected photons.
(71) Halliburton Energy Services,...
(22) 21.04.2015
(43) 27.10.2016
(57) A method for cement evaluation may include generating a gamma ray, from a radioactive source, into cement disposed between a casing and a geological formation. Photons reflected from the geological formation and the cement are detected on a gamma detector having a collimator. A detector-to-source distance, a collimator angle, and/or a collimator diameter are set to provide an energy spectra independent of the geological formation. The quality of the cement may be determined based on the energy spectra of the detected photons.
(71) Halliburton Energy Services, Inc., 3000 N. Sam Houston Parkway E., Houston, Texas 77032-3219 (US)
(84) ARIPO (BW, GH, GM, KE, LR, LS, MW, MZ, NA, RW, SD, SL, ST, SZ, TZ, UG, ZM, ZW), Eurasian (AM, AZ, BY, KG, KZ, RU, TJ, TM), European (AL, AT, BE, BG, CH, CY, CZ, DE, DK, EE, ES, FI, FR, GB, GR, HR, HU, IE, IS, IT, LT, LU, LV, MC, MK, MT, NL, NO, PL, PT, RO, RS, SE, SI, SK, SM, TR), OAPI (BF, BJ, CF, CG, CI, CM, GA, GN, GQ, GW, KM, ML, MR, NE, SN, TD, TG)
