Apparatus and method for calcination of gypsum
(22) 12.02.2016
(43) 01.09.2016
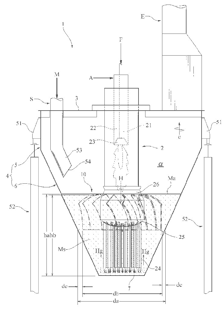
(57) [Problem] To improve the flowability of a material gypsum deposit layer in a furnace to thereby prevent the development of “unevenness” in calcined gypsum, while also reducing fuel consumption in a calcining furnace. [Solution] A gypsum calcining device is provided with: a gypsum calcining furnace (1, 3-7) having a furnace inner-wall surface that is circular or annular in plan; and a combustion pipe (2) disposed at the center of a furnace body, wherein material gypsum (M) in the furnace is calcined or dried by a high-temperature gas jet flow (Hg) ejected from...
(22) 12.02.2016
(43) 01.09.2016
(57) [Problem] To improve the flowability of a material gypsum deposit layer in a furnace to thereby prevent the development of “unevenness” in calcined gypsum, while also reducing fuel consumption in a calcining furnace. [Solution] A gypsum calcining device is provided with: a gypsum calcining furnace (1, 3-7) having a furnace inner-wall surface that is circular or annular in plan; and a combustion pipe (2) disposed at the center of a furnace body, wherein material gypsum (M) in the furnace is calcined or dried by a high-temperature gas jet flow (Hg) ejected from a lower part of the combustion pipe. The calcining furnace includes a fixed-blade or movable-blade type auxiliary device for urging the material gypsum in the vicinity of the furnace inner-wall surface in a circumferential direction of the calcining furnace, or assisting the motion in the circumferential direction of the material gypsum in the vicinity of the furnace inner-wall surface. The auxiliary device includes a plurality of fixed blades (10) arranged at angular intervals in the circumferential direction in a lower-end outer peripheral area of the combustion pipe, or an agitator (30) penetrating through a conical surface or an inner peripheral surface constituted by the furnace inner-wall surface.
(71) Yoshino Gypsum Co., Ltd., Tokyo (JP)
(84) ARIPO (BW, GH, GM, KE, LR, LS, MW, MZ, NA, RW, SD, SL, ST, SZ, TZ, UG, ZM, ZW), Eurasian (AM, AZ, BY, KG, KZ, RU, TJ, TM), European (AL, AT, BE, BG, CH, CY, CZ, DE, DK, EE, ES, FI, FR, GB, GR, HR, HU, IE, IS, IT, LT, LU, LV, MC, MK, MT, NL, NO, PL, PT, RO, RS, SE, SI, SK, SM, TR), OAPI (BF, BJ, CF, CG, CI, CM, GA, GN, GQ, GW, KM, ML, MR, NE, SN, TD, TG)
