Mixer, mixing method, and method for producing lightweight gypsum board
(22) 17.11.2014
(43) 26.10.2016
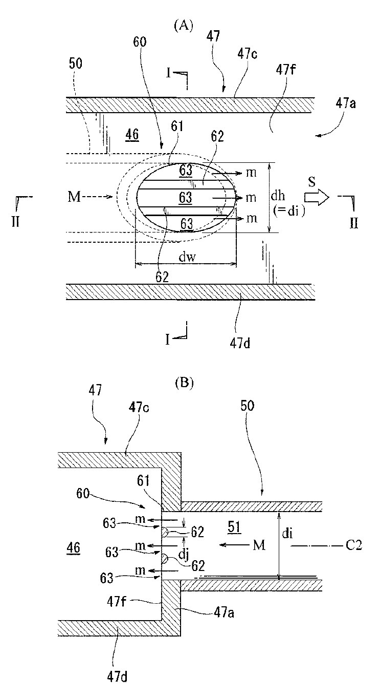
(57) [Object] Behavior of a flow of foam or foaming agent ejected to a gypsum slurry can be stabilized, and a relatively large amount of foam or foaming agent can be homogeneously or uniformly dispersed in the slurry. [Solution] A mixer (10) has a mixing area (10a) for preparing gypsum slurry (3), a slurry delivery section (4) for delivering the slurry from the mixing area, and a feeding port (60) for feeding foam (M) or a foaming agent to the slurry in the mixing area and/or the slurry delivery section under pressure. The slurry having the foam mixed therein is...
(22) 17.11.2014
(43) 26.10.2016
(57) [Object] Behavior of a flow of foam or foaming agent ejected to a gypsum slurry can be stabilized, and a relatively large amount of foam or foaming agent can be homogeneously or uniformly dispersed in the slurry. [Solution] A mixer (10) has a mixing area (10a) for preparing gypsum slurry (3), a slurry delivery section (4) for delivering the slurry from the mixing area, and a feeding port (60) for feeding foam (M) or a foaming agent to the slurry in the mixing area and/or the slurry delivery section under pressure. The slurry having the foam mixed therein is supplied to a production line (1) for forming gypsum boards or gypsum-based boards. The feeding port is provided with a partition member (62,64,65) dividing an ejecting region (61,61’). The ejecting region is divided into a plurality of openings (63), which simultaneously eject the foam or forming agent to the slurry.
(71) Yoshino Gypsum Co., Ltd., Chiyoda-ku, Tokyo 100-0005 (JP)
(84) Designated Contracting States: AL AT BE BG CH CY CZ DE DK EE ES Fl FR GB GR HR HU IE IS IT LI LT LU LV MC MK MT NL NO PL PT RO RS SE SI SK SM TR
Designated Extension States: BA ME
