The Arab Union for Cement and Building Materials (AUCBM) is an inter-Arab organization, affiliated to the Council of Arab Economic Unity – League of Arab States and Council of Arab Economic Unity. On 24.11.-26.11.2019 the AUCBM’s “24th Arab International Cement Conference and Exhibition (AICCE24)” will be held in Cairo/Egypt. ...
CRH plc announced that Richard Boucher was appointed as Chairman Designate on 25.09.2019. He will succeed the present Chairman, Nicky Hartery, on 01.01.2020. Mr. Hartery, who has been Chairman since...
The World Cement Association announced that it has appointed two new Joint Chairmen, Cui Xingtai of China United Cement Company (CUCC), China and Vincent Lefebvre of Cem’In’Eu, France. Mr. Cui has...
The annual exhibition for the cement industry Cementtech 2020 will take place at the Anhui International Conference & Exhibition Center, China from 25.03.-27.03.2020. This international cement...
For the Briska Cement plant, Algeria, LafargeHolcim contacted DAL Machinery & Design (DMD) to fabricate four vertical cement mill roller tyres with a size of ø 2500 x 710 mm. Due to DMD’s casting...
From July 2019, Bedeschi finalized the corporate merger for the integration of ONT – Officine Nastri Trasportatori (based in Bergamo) and Bedeschi Handling (based in Genoa), already part of the group....
ACC Limited is one of India’s leading manufacturers of cement and ready-mix concrete, with 17 cement production plants, 75 ready-mix concrete facilities, over 6700 employees and a countrywide network...
HeidelbergCement has announced that its North American subsidiary, Lehigh Hanson, Inc., has entered into an agreement with Giant Cement, a subsidiary of Elementia S.A.B. de C.V., to acquire its...
As of 31.12.2019 Michael Huenerlage will leave his current position as CEO at the Eberhardt Schwab GmbH and the M-Group for personal reasons. Mr. Huenerlage looks back on 15 years at the M-Group, 11...
BHS-Sonthofen has opened a new and state-of-the-art test center in Sonthofen/German with an investment of € 3.8 million. BHS will perform production-scale tests at the center on all machines and...
MCS Mining Industry Laos Co., Ltd., domiciled in Pin Village, Thekhek District, Kham Muan Province/Laos placed an order with Maerz Ofenbau AG for the supply of engineering, license, know-how,...
Dalmia Cement (Bharat) Limited, a leading Indian cement major and a subsidiary of Dalmia Bharat Limited, has announced that it will build a large scale facility of 500000 t/a carbon capture at its ...
Recently, the Finnish cement company Finnsementti awarded Gebr. Pfeiffer with a contract for the supply of a slag grinding mill type MVR 1800 C-4. The new slag grinding plant will be built next to a ...
Raysut Cement Company, one of Oman’s largest cement manufacturers, has signed a land lease agreement and port of terminal services agreement with the Port of Duqm Company SAOC for building a new ...
Approx. 29.0 million t of cement were used in Germany in 2018. The figure was thus roughly 0.4 % higher compared to the previous year. VDZ sees the industry continuing in a stable environment for the...
Effective 01.11.2019, Jan Lüder took over as Chief Executive Officer (CEO) of the Mining Technologies business unit at thyssenkrupp Industrial Solutions AG. Alongside his new role, Jan Lüder will...
LafargeHolcim took a major step with the creation of its first Chief Sustainability Officer position as part of the Executive Committee. LafargeHolcim is accelerating its efforts to be the industry...
The 4th Weimar Gypsum Conference will take place in Weimar from 01.04.-02.04.2020. The conference will be organized by the chair of “Building Materials” of the F.A. Finger Institute for Building...
ABB recently launched a new version of Minerals Process Control Library with a new visual control graphic interface; the first to display process information in its situational context. Successfully ...
As a market leader in machinery for woven plastic fabrics, Starlinger has been setting trends for decades with innovative packaging solutions for dry bulk goods. Now customers can choose from an even ...
LafargeHolcim is increasing its efforts to further improve the carbon efficiency of its products and solutions. The objective is to reduce annual CO2 emissions in Europe by a further 15 %...
For the first time the Lemgo-based M-Group invited specialists from the cement industry to discuss topics and problems concerning the occupational safety during the cement production process. The...
The machine engineering company Windmöller & Hölscher is celebrating its 150-year anniversary in 2019, and in this anniversary year it is well-equipped to meet future challenges. We spoke to Dr...
Developed and operated by the B+T Group, a new SRF production facility is located on the premises of Deuna Zement GmbH. The new facility supplies the cement production plant with fuel from sorted and...
The cement industry is getting cleaner, a fact which also applies to NOx emissions. In the last 20 years, primary and secondary NOx abatement technologies have been developed. A combination of these...
The structure of many industrial and power plants was engineered decades ago and often offers only limited space for the installation of waste gas cleaning systems. Therefore, it is not usually...
This article describes the practical experience and optimisation of the carbonate CO2scrubbing process at the Uniper coal-fired power station in Wilhelmshaven. It focusses on CO2 capture and the...
Refractories are the key for the development of new energy efficient thermal processes. Existing deficiencies in their high-temperature characterization are closed by a new generation of ThermoOptical...
Chemometrics is the chemical discipline that uses mathematical and statistical methods to optimize experimental designs by maximizing the quality of the information obtained. It has demonstrated its...
(22) 06.10.2014(45) 21.08.2019(57) Die Erfindung betrifft ein Verfahren zur Entstickung von Bypassabgasen in einer Anlage zur Herstellung von Zementklinker, wobei die Anlage in Gasflussrichtung einen...
(22) 23.05.2014(43) 15.03.2017(45) 04.09.2019(57) The present invention relates to a gypsum slurry and a method for manufacturing a gypsum hardened body. (…) However, according to the method of...
(22) 21.10.2016(43) 05.09.2018(45) 21.08.2019(57) Portlandzemente sind pulverförmige Produkte aus der Hauptkomponente Klinker (95 - 100 %) und Sulfatverbindungen als Erstarrungsregler (EN 197; CEM I)....
(22) 17.07.2017(43) 30.08.2019(57) Summary of the corresponding patent EP3293159 (A1): Zum Brennen von Kalk oder Zement wird Synthesegas erzeugt und gegebenenfalls zusammen mit fossilen Brennstoffen...
(22) 13.09.2018(45) 27.08.2019(57) A method for manufacturing clinker including the steps of sintering raw meal in a kiln to clinker, preheating the raw meal in a preheater using a main flue gas...
(22) 16.09.2014(45) 27.08.2019(57) The present invention provides cement grinding additive compositions and methods which allow a PVC-safe, powerful, and robust defoaming agent to be uniformly...
(22) 22.02.2018(43) 22.08.2019(57) Disclosed are methods and systems for processing clinker containing iron and non-ferrous metals for extraction of those metals. The processing comprises pretreatment...
(22) 25.10.2018(43) 29.08.2019(57) Cement, concrete, stucco, and plaster that are have black ceramic polymer derived pigments, and in embodiments have a uniform blackness throughout the structure. In...
(22) 12.02.2019(43) 22.08.2019(57) The present provides a concrete and mortar mix and composition thereof with poor quality sand such as desert sand, hydraulic binder (cement) and filamentous...
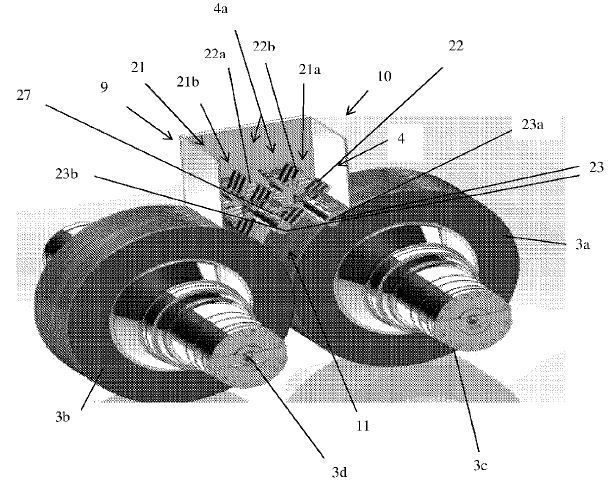
(22) 15.02.2019(43) 22.08.2019(57) A comminution apparatus (1) includes a feed material directing mechanism (4) adjacent a plurality of moveable crushing bodies (3). The feed material directing...