Comminution device feed mechanism and method
(22) 15.02.2019
(43) 22.08.2019
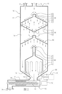
(57) A comminution apparatus (1) includes a feed material directing mechanism (4) adjacent a plurality of moveable crushing bodies (3). The feed material directing mechanism (4) is configured to pre-compress feed material such as ore, limestone, clinker, or other material for directing the feed material to the crushing bodies (3) for comminution to increase the production rate for comminution operations.
(71) FLSmidth A/S, Vigerslev Alle 77, 2500 Valby (DK)
(84) ARIPO (BW, GH, GM, KE, LR, LS, MW, MZ, NA, RW, SD, SL, ST, SZ, TZ, UG, ZM, ZW), Eurasian (AM, AZ, BY, KG,...
(22) 15.02.2019
(43) 22.08.2019
(57) A comminution apparatus (1) includes a feed material directing mechanism (4) adjacent a plurality of moveable crushing bodies (3). The feed material directing mechanism (4) is configured to pre-compress feed material such as ore, limestone, clinker, or other material for directing the feed material to the crushing bodies (3) for comminution to increase the production rate for comminution operations.
(71) FLSmidth A/S, Vigerslev Alle 77, 2500 Valby (DK)
(84) ARIPO (BW, GH, GM, KE, LR, LS, MW, MZ, NA, RW, SD, SL, ST, SZ, TZ, UG, ZM, ZW), Eurasian (AM, AZ, BY, KG, KZ, RU, TJ, TM), European (AL, AT, BE, BG, CH, CY, CZ, DE, DK, EE, ES, FI, FR, GB, GR, HR, HU, IE, IS, IT, LT, LU, LV, MC, MK, MT, NL, NO, PL, PT, RO, RS, SE, SI, SK, SM, TR), OAPI (BF, BJ, CF, CG, CI, CM, GA, GN, GQ, GW, KM, ML, MR, NE, SN, TD, TG)
