Content

Editorial

Winning over and inspiring ­tomorrow’s managers!

The shortage of skilled professionals is a real issue. Graduates today can often choose in what company they want to start their career. Besides considering opportunities for professional development and salary, prospective managers often see the fulfilment of personal needs ...

more

Spotlight

AMERICAN STARLINGER-SAHM

New headquarters for North America

Beginning in June 2015, American ­Starlinger-Sahm, Inc. has completed the move into its new North American headquarters. Located in Fountain Inn,...

more
ANGOLA

New ETA cooler order

The Chinese EPC contractor Sinoma E & E (CBMEC) has awarded a contract to Claudius Peters from Buxtehude/Germany for the delivery of an ETA cooler with a capacity of 5500 t/d. This cooler as well uses the special efficiency of the ETA cooler for waste heat recovery. The cooler will...

more
LOESCHE

Vertical roller mill for new greenfield ­cement plant in Konya

Biberci Insaat from Konya/Turkey are building their first cement plant and have ordered a Loesche LM 56.3+3 VRM for this project. The company specialises in infrastructure work including road construction, interchange, water conduction lines, sewerage, natural gas and other energy transfer lines, now they are also planning to produce their own cement in Konya/Turkey. One of their first investments for the new greenfield cement plant is the order of a ...

more

Products

VENTI OELDE

New high-efficiency rotor for ­cement works saves 23 % energy

Energy efficiency is considered to be of primary importance in the cement industry – in both large cement groups as well as in smaller independent cement works. Process fans, in particular, which are among the machines with a high energy demand, represent a large savings potential. ...

more
HGH INFRARED

Advanced thermal combustion monitoring

HGH Infrared Systems, based in Paris/ France, and with sales and technical offices in the US, India, Singapore and China, has released an improved generation of thermal scanning equipment. The new Pyroscan is a Gigabit Ethernet pyrometric camera ...

more
HAVER & BOECKER

A new generation of test sieve shakers

he EML 200 Premium offers practical innovation, as it is much quieter than its predecessor model and thus allows comfortable work in the laboratory environment along with high performance. Moreover, the damping system has been overhauled: The transmission of vibrations to the base is strongly reduced by an improved ...

more

Events

CHRISTIAN PFEIFFER

Celebration of 90th anniversary

On 24.04.2015, Christian Pfeiffer from Beckum/Germany celebrated its 90 th anniversary with over 200 customers, business partners and employees from 31 countries. There was much to celebrate, as Managing Directors ...

more
EUROSAC CONGRESS, BARCELONA/SPAIN (04.-06.06.2015)

Continuous innovation to meet customer needs

This year’s Eurosac Congress, “The Paper Sack in 2015 – Modern, High Tech, Innovative”, was held in Barcelona/Spain, from 04.-06.06.2015. The event...

more
THERMPROCESS – 11th INTERNATIONAL TRADE FAIR AND SYMPOSIUM FOR THERMOPROCESS TECHNOLOGY, DUESSELDORF/GERMANY (16.– 20.06.2015)

Everywhere satisfaction with the economic development

The technology fair quartet of Gifa, Metec, Thermprocess and Newcast (together abbreviated to GMTN) ended after five days duration (16.-20.06.2015)...

more
ZKG TECHNICAL EXCURSION, LENGERICH/GERMANY (09.–10.06 2015)

Between rotary kiln and speed dating

The destination of ZKG’s field trip early this summer was the Dyckerhoff cement plant Lengerich, one of the Buzzi Unicem Group’s largest operations. Forty-five students and their mentors were happy to accept an invitation by ZKG International and ...

more

Plant report

HOLCIM (US)

A new point of view in cement plant operations­

Remote controlled planes and helicopters have been used for a long time by hobbyists and military ­forces, but only in recent years has progress in miniaturization of electronics, digital cameras and batteries allowed maximization of their full potential, making them accessible to everyone. Drones (also known as “UAV” – Unmanned Aerial Vehicle) are available in a wide range of type, size, performance and prices. The current technologies allow for live recording of photos and videos used in a wide variety of ...

more

Markets and Trends

ONESTONE CONSULTING S.L.

Impact of clinker coolers on downstream equipment

Clinker coolers in today’s cement pyroprocessing lines are considered to be very reliable even under kiln upset conditions. But what is the interaction of the cooler with the upstream pyroprocessing under extreme conditions and how is the downstream equipment affected? In the following article the process will be analyzed and ...

more

Process

Engineering

SIEMENS AG

Drive train condition monitoring

Condition Monitoring has become an essential element for the digitalization of industry. The reasons are obvious: the smooth and uninterrupted availability of production facilities is top priority for companies operating plants, as this is the only way to ...

more
CATERPILLAR

Technology in quarry operations

Quarry operations strive for continuous improvement and efficiency gains throughout the entire process of their quarry operation, with one simple...

more

Service

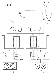
WO 2015/078787 A1

Method for producing cement

(22) 21.11.2014 (43) 04.06.2015 (57) The invention relates to a method for producing a cement, wherein at least one material to be ground is ground...

more