Cement composition comprising nano-platelets
(22) 20.08.2014
(43) 11.06.2015
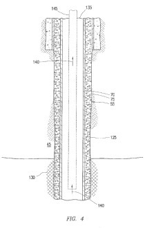
(57) A method of cementing a subterranean formation includes providing a cement composition comprising cementitious material, aqueos base fluid, grapheme nano-platelets, and a dispersant; introducing the cement composition into a subterranean formation; and allowing the cement composition to set in the subterranean formation. Upon setting, the cement has at least one of enhanced compressive and tensile strength; reduced permeability; restricted penetration of carbon dioxide; and combinations thereof relative to an equivalent cement without grapheme nano-platelets....
(22) 20.08.2014
(43) 11.06.2015
(57) A method of cementing a subterranean formation includes providing a cement composition comprising cementitious material, aqueos base fluid, grapheme nano-platelets, and a dispersant; introducing the cement composition into a subterranean formation; and allowing the cement composition to set in the subterranean formation. Upon setting, the cement has at least one of enhanced compressive and tensile strength; reduced permeability; restricted penetration of carbon dioxide; and combinations thereof relative to an equivalent cement without grapheme nano-platelets. Cement compositions include cementitoius material, an aqueous base fluid, grapheme nano-platelets, and a dispersant.
(71) Halliburton Energy Services, Inc., 3000 N. Sam Houston Parkway E, Houston, TX 77032 (US)
(84) ARIPO (BW GH GM KE LR LS MW MZ NA RW SD SL SZ TZ UG ZM ZW), Eurasian (AM AZ BY KG KZ RU TJ TM), European (AL AT BE BG CH CY CZ DE DK EE ES FI FR GB GR HR HU IE IS IT LT LU LV MC MK MT NL NO PL PT RO RS SE SI SK SM TR), OAPI (BF BJ CF CG CI CM GA GN GQ GW KM ML MR NE SN TD TG)
