Method for producing cement
(22) 21.11.2014
(43) 04.06.2015
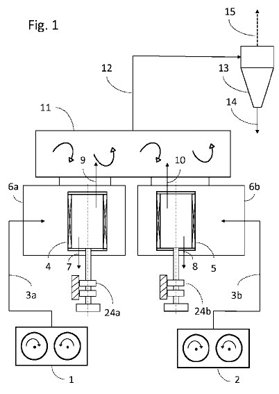
(57) The invention relates to a method for producing a cement, wherein at least one material to be ground is ground in at least two grinding devices (1, 2, 16, 17, 18) into differently ground material with grain size distributions that are different from one another, the ground material from each of the at least two grinding devices (1, 2, 16, 17, 18) is fed separately from one another by its own respective classifying air stream (3a, 3b) to one of at least two bar-cage classifiers (4, 5), and wherein, in each of the at least two bag-cage classifiers (4, 5), a...
(22) 21.11.2014
(43) 04.06.2015
(57) The invention relates to a method for producing a cement, wherein at least one material to be ground is ground in at least two grinding devices (1, 2, 16, 17, 18) into differently ground material with grain size distributions that are different from one another, the ground material from each of the at least two grinding devices (1, 2, 16, 17, 18) is fed separately from one another by its own respective classifying air stream (3a, 3b) to one of at least two bar-cage classifiers (4, 5), and wherein, in each of the at least two bag-cage classifiers (4, 5), a fine material fraction (9, 10) is separated out and a coarse grain fraction (7, 8) is discharged. The invention provides that the classifying air streams carrying the fine material fractions (9, 10) that emerge from the at least two bar-cage classifiers (4, 5) are brought together within a common discharge device (11), with the fine material fractions (9, 10) being uniformly mixed together. This allows the grain size distribution to be influenced and a high-strength cement to be produced cost-effectively.
(71) KHD Humboldt Wedag GmbH, Colonia-Allee 3, 51067 Cologne (DE)
(84) ARIPO (BW GH GM KE LR LS MW MZ NA RW SD SL SZ TZ UG ZM ZW), Eurasian (AM AZ BY KG KZ RU TJ TM), European (AL AT BE BG CH CY CZ DE DK EE ES FI FR GB GR HR HU IE IS IT LT LU LV MC MK MT NL NO PL PT RO RS SE SI SK SM TR), OAPI (BF BJ CF CG CI CM GA GN GQ GW KM ML MR NE SN TD TG)
