Content

Editorial

The future of the Iranian market

With the lifting of international sanctions against Iran, the world’s industry is now anticipating booming business, despite the fact that conditions remain difficult for many investments, and for the financing of projects, in particular. ...

more

Spotlight

LOESCHE GMBH

Loesche GmbH signed contract for three new mills in Vietnam

The customer Thanh Thang Group Cement JSC has placed an order for its cement plant Thanh Thang Cement with Loesche GmbH. Thanh Thang Group Cement JSC was only established in 2013. As a new customer the company was convinced of the benefits of Loesche technology by the quality of the references available in ­Vietnam over a very large number of years and the guarantees given for this project. ...

more

Products

Events

MÖLLERS GROUP ACADEMY

Opening of the Möllers Group Academy

On 31.05.2016, the new Möllers Group Academy was ceremonially opened at the Möllers Group headquarters in Beckum/Germany. The company presented its...

more
VDMA SYMPOSIUM, TEHRAN/IRAN

VDMA Technology Symposium in Tehran

On 10.05.-11.05.2016, the VDMA Symposium on Cement and Minerals Technology took place at the Evin Hotel in the Iranian capital. 16 member companies of the VDMA Construction Equipment and Building Material Machinery Association ...

more
ANNUAL ASSOCIATION OF THE GERMAN LIME INDUSTRY (BVK) CONFERENCE

Lime industry’s economic mood restrained

The BVK’s annual meeting of members was held, as an industry forum for the German, Austrian and Swiss lime industries, in Bremen/Germany on...

more
ZKG TECHNICAL EXCURSION, LEIMEN/GERMANY (14.06.–15.06.2016)

What’s a cableway doing in a cement plant?

This was the interesting conundrum faced by students from the mechanical engineering and economics departments of Koblenz University of Applied Sciences and the process-engineering and mineral resources departments of ...

more

Plant report

SIEMENS AG | CONG THANH CEMENT JOINT STOCK COMPANY

A holistic approach

In an environment characterized by tightening emissions standards and rising production costs, Cong Thanh cement plant in Vietnam benefits from a...

more
SCHEUCH GMBH | KIRCHDORFER ZEMENTWERK HOFMANN GESELLSCHAFT M.B.H

One of the cleanest cement plants in the world

Kirchdorfer Zementwerk describes itself as one of the cleanest cement plants in the world. Proof of this claim made by the Upper Austrian industrial...

more

Markets and Trends

ONESTONE CONSULTING S.L.

Iran’s cement industry after the sanctions

The lifting of economic sanctions paves the way for an improved economic development in Iran. This article provides an overview of the economic outlook for Iran, the situation of the cement industry and the kind of opportunities that exist for the ...

more

Process

Materials

Patents

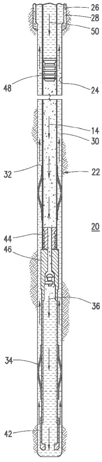
AU 2014/384686 A1 | WO 2015/130284 A1

Passivated cement accelerator

(22) 27.02.2014 (43) 03.09.2015 (57) Embodiments relate to cementing operations and, in certain embodiments, to passivated cement accelerators and...

more
WO 2016/089378 A1

Lime-based cement composition

(22) 02.12.2014 (43) 09.06.2016 (57) A cement composition for use in a well that penetrates a subterranean formation comprising: hydrated lime; a...

more