Systems and methods for evaluating gas-contaminated cement
(22) 17.12.2014
(43) 22.06.2016
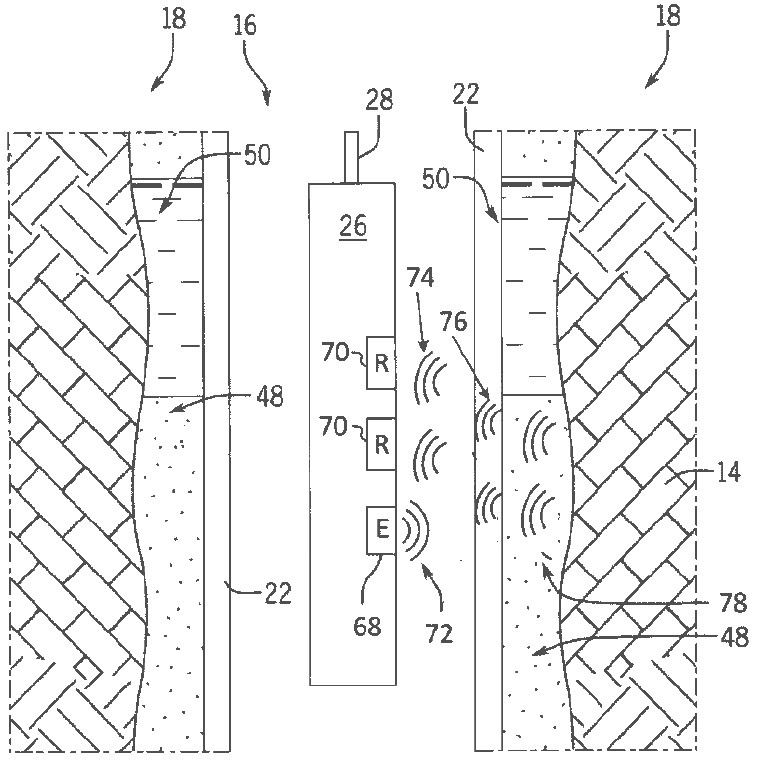
(57) Embodiments of the disclosure may include systems and methods for evaluating gas-contaminated cement. In one embodiment, a vector-valued image of cement state probability may be obtained from an acoustic logging tool, and a maximum a posterior classification of cement state of the vector-valued image may be determined. A vector probability diffusion equation may be used to minimize the total variation of the vector-valued image over a number of interactions to produce a second image. The maxim urn a posterior classification of cement state the second image...
(22) 17.12.2014
(43) 22.06.2016
(57) Embodiments of the disclosure may include systems and methods for evaluating gas-contaminated cement. In one embodiment, a vector-valued image of cement state probability may be obtained from an acoustic logging tool, and a maximum a posterior classification of cement state of the vector-valued image may be determined. A vector probability diffusion equation may be used to minimize the total variation of the vector-valued image over a number of interactions to produce a second image. The maxim urn a posterior classification of cement state the second image may be determined and compared to the maximum a posterior classification of cement state of the vector-valued image. Depending on the comparison, the original image and cement state may be used or a new gas-contaminated image with a different cement state may be generated.
(71)
Services Pétroliers Schlumberger, 75007 Paris (FR); Designated Contracting States: FR
Schlumberger Holdings Limited, Road Town, Tortola 1110 (VG); Designated Contracting States: GB NL
Schlumberger Technology B.V., 2514 JG The Hague (NL); Designated Contracting States: AL AT BE BG CH CY CZ DE DK EE ES Fl GR HR HU IE IS IT LI LT LU LV MC MK MT NO PL PT RO RS SE SI SK SM TR
(84) Designated Contracting States: AL AT BE BG CH CY CZ DE DK EE ES Fl FR GB GR HR HU IE IS IT LI LT LU LV MC MK MT NL NO PL PT RO RS SE SI SK SM TR Designated Extension States: BA ME
