Novel cement composition for lost circulation application
(22) 25.11.2013
(43) 09.06.2016
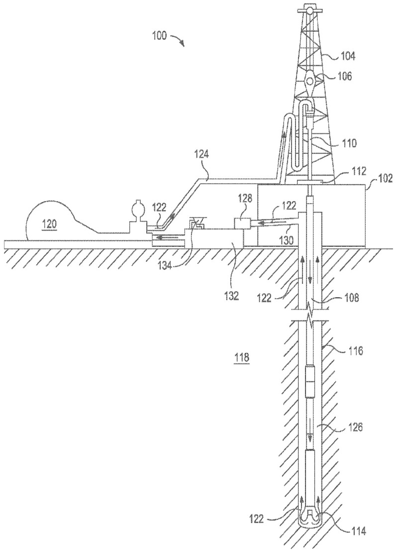
(57) A method of cementing a subterranean formation includes providing a cement composition comprising cementitious material, aqueous base fluid, nanoparticles, synthetic clay, and a thixotropic modifier, where the solid materials are about 0 wt % to about 40 wt % of the total weight of the cement composition; introducing the cement composition into a subterranean formation; and allowing the cement composition to set in the subterranean formation. Cement compositions include cementitious material, aqueous base fluid, nanoparticles, synthetic clay, and a...
(22) 25.11.2013
(43) 09.06.2016
(57) A method of cementing a subterranean formation includes providing a cement composition comprising cementitious material, aqueous base fluid, nanoparticles, synthetic clay, and a thixotropic modifier, where the solid materials are about 0 wt % to about 40 wt % of the total weight of the cement composition; introducing the cement composition into a subterranean formation; and allowing the cement composition to set in the subterranean formation. Cement compositions include cementitious material, aqueous base fluid, nanoparticles, synthetic clay, and a thixotropic modifier.
(71) Halliburton Energy Services, Inc., Houston, TX (US)
(73) Halliburton Energy Services, Inc., Houston, TX (US)
