Dear Readers, When smart technologies or industries of the future are reported on TV or in other media, the cement industry is probably not the first one that comes to mind. Yet it is precisely in ...
Schenck Process, a global market leader of selected process technologies in material handling industries, is continually demonstrating their commitment to developing new services and solutions for...
Cemex announced the acquisition of Broquers Ambiental, a sustainable company that focuses on the separation, recovery, and treatment of urban solid waste generated in the city of Queretaro. This...
Global packaging and paper leader Mondi has accelerated plans to take action on climate by committing to transition to Net-Zero by 2050. This next step builds on almost two decades of progress,...
Since 2000, the Rüdersdorf cement plant has been voluntarily certified according to the EU Eco-Management and Audit Scheme (EMAS). A prerequisite is the regular provision of information to the public....
Holcim partners with Eni to advance its carbon capture portfolio, repurposing CO2 from its operations into its green cement. As a world leading energy company, Eni is putting its carbon capture and...
HeidelbergCement’s North American subsidiary Lehigh Cement and Enbridge Inc. have announced a memorandum of understanding to collaborate on a carbon storage project for Lehigh’s cement plant in...
The World Cement Association (WCA) has announced it has further expanded its international network of members by welcoming Enterprise Ireland as an Affiliate Member. Enterprise Ireland is the Irish...
Holcim sold its cement business in Northern Ireland to Cookstown Cement Ltd for an Enterprise Value of CHF 70 million, covering a production capacity of 450000 t. Cookstown Cement Ltd is a newly...
The CarbonZero: Alternative Fuels and Raw Materials 2022 Conference and Exhibition will take place as in-person and online format on November 10 and 11 in Lisbon/Portugal. The two-day event will...
Italgas and Buzzi Unicem have signed an agreement for the development of a feasibility study on the implementation of Power to Gas plants in combination with Carbon Capture Systems at Buzzi Unicem’s...
Cemex and Synhelion have announced the successful production of the world’s first solar clinker, the key component of cement, a significant step towards developing fully solar-driven cement...
Sika has moved into a new site in the East African country of Tanzania and is now locally producing mortars in addition to concrete admixtures. The site also offers space for further growth in...
The Wietersdorfer Group has appointed Stefan Schriebl (50) as its new Head of Corporate Development. Schriebl, who brings with him many years of international management experience in the building...
The 64th annual IEEE-IAS/PCA Cement Industry Technical Conference will take place at the MGM Grand Hotel in Las Vegas, Nevada from May 1 to 5, 2022. After last year’s virtual conference and exhibition...
The sustainable use of resources – and thus climate protection – is the major topic of IFAT Munich, which will be held from May 30 to June 3, 2022 at the exhibition center in Munich. International...
The order intake in the construction equipment industry allows manufacturers with production sites in Germany to look forward to 2022 with peace of mind. When companies will be able to achieve...
Buzzi Unicem launches on the Italian and German markets the new product line called CGreen, a family of CO2 efficient cements. In keeping with the sustainability policies that distinguish the company...
Goods and products manufactured with industrial processes often contain water in various concentrations. Moisture has a critical impact on the quality, storage/shelf life and weight of the product –...
As part of its digitalization offensive, w&p Zement has taken the next step towards external transparency: People interested in production can now conveniently visit three different w&p locations via ...
A keen eye to quality: new production control center with flexible-use large-screen wall makes it easier to precisely monitor systems and manufacturing processes. Newly developed suspended ceiling...
Current research on cement grinding is focussing on proportionate separate ultra-fine grinding in a stirred media mill and subsequent mixing of the cement main constituents of their different finenesses. However, very little is known about the gypsum dehydration potential of these mills. This has now been investigated systematically for the first time. ...
While it is easy to arrange a new bypass system in a new designed cement line, it is a challenge to implement it in existing production lines, due to limited space which makes it difficult to design....
The influence of nano-SiO2 (NS)/styrene-acrylate (SA) latex composites on the strength and impermeability of cementitious materials was studied and the underlying mechanism is discussed on the basis...
Minor oxides in kiln feed influence the kinetics of clinker formation, mineralogical composition, polymorphism of clinker phases and other properties of clinker. Investigations on the phase...
Will we run out of FGD gypsum in the future? This question is more frequently asked because of the phase-out of coal-fired power plants due to the decarbonisation of the power industry. Here, a deep...
(22) 23.07.2021(43) 27.01.2022(57) High temperature furnaces, calcining, pyrolysis and other high temperature manufacturing processes, composition rearrangements, and equipment. Systems, equipment and...
(22) 12.07.2021(43) 20.01.2022(57) A comb polymer is used as an inerting agent for swelling clays and/or non-swelling clays in gypsum compositions, said comb polymer comprises: a) at least one...
(22) 07.04.2021(43) 13.01.2022(57) Disclosed is a method for regenerating a thallium poisoning SCR denitration catalyst of a cement kiln, comprising the following steps: (1) dust removal; (2) soaking...
(22) 30.06.2021(43) 06.01.2022(57) Provided herein are zero carbon dioxide (CO2) emission processes and systems to carry out the processes, comprising a) calcining limestone in a cement plant in an...
(22) 22.07.2020(43) 27.01.2022(57) A gypsum washer includes a rotating trommel receiving raw material and a flow of water, and having paddles tilted to reduce impacts of the gypsum passing through the...
(22) 16.09.2021(43) 25.11.2019(57) A kiln for firing cement clinker may include a tubular rotary drum that can be rotated about its central axis. The tubular rotary drum may have a discharge end at...
(22) 16.09.2021(43) 20.01.2022(57) Mineral fines reduce OPC content in concrete, mortar and other cementitious compositions, typically in combination with a pozzolanically active SCM. Mineral fines...
(22) 30.10.2019(43) 20.01.2022(57) Disclosed is a method for manufacturing a hydraulic binder including a calcium aluminate, which involves: a) providing a composition including a lime C source...
(22) 25.03.2021(43) 05.01.2022(57) Summary of the corresponding patent WO2021204549 (A1): The invention relates to a method for producing cement clinker, said method comprising the steps of: –...
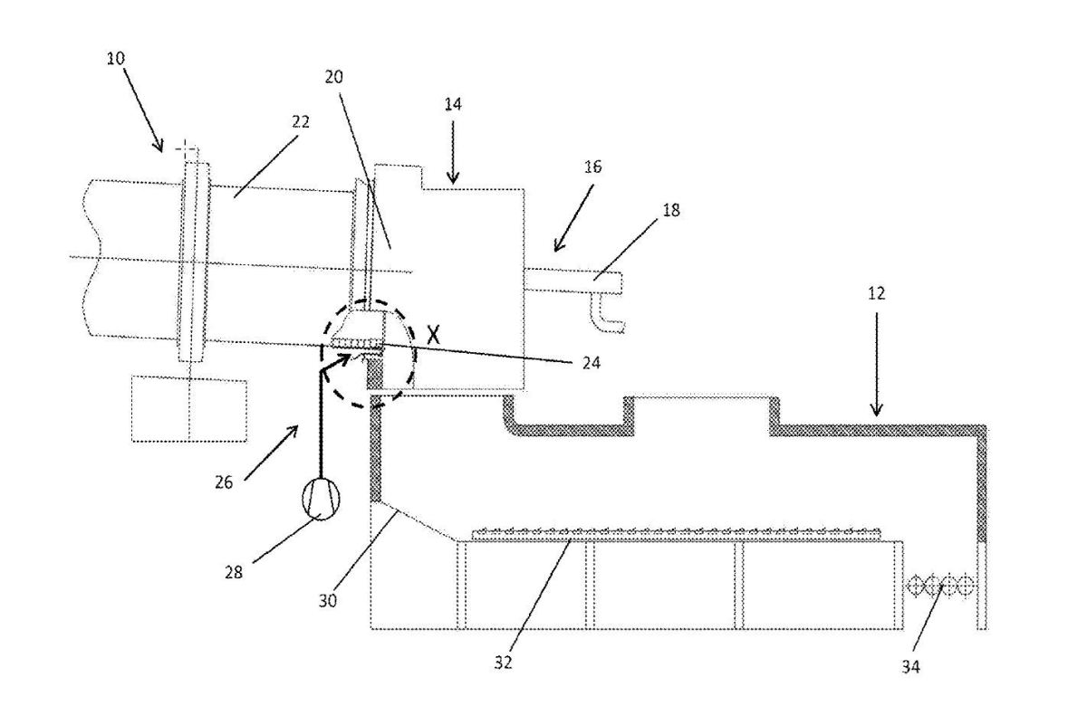
(22) 04.11.2019(43) 20.01.2022(57) In a method for analyzing samples of a gas in a rotary cement kiln by at least one gas sampling probe, a first and a second gas sampling probe are provided, wherein...
(22) 14.11.2019(43) 06.01.2022(57) The present invention relates to a cement additive for use in a blended cement composition, the additive comprising a precipitated calcium carbonate formed from...
(22) 25.03.2021(43) 30.09.2021(57) A dry cementitious material mixture for 3D-printing, comprising a hydraulic cement, at least one viscosity enhancing admixture, at least one accelerator and...
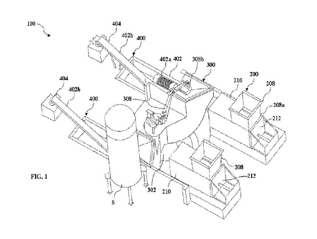
(22) 12.05.2021(43) 25.11.2021(57) A system and a method for preparing alternate dry fuel for use in cement industry from hazardous waste materials are disclosed in invention. The system (100) of the...
Putin has brought war back to Europe – after seven decades of peace! All of a sudden, nothing is like it was before. Women and children from Ukraine are fleeing westwards leaving behind their brave ...
A research project of the Disturbance Ecology and Vegetation Dynamics research group at the University of Bayreuth is investigating the importance of gypsum mining sites for biodiversity. The...
Carbon-reinforced concrete can make an essential contribution to climate-friendly construction, because in contrast to the steel bar and mesh reinforced concrete commonly used to date, the new...
In the cement industry, carbon dioxide is an un-avoidable by-product: it is produced when calcium carbonate is burned to calcium oxide and is subsequently released. As a result, the cement industry...
In an open letter, Bellona Germany, Heidelberg-Cement, General Electric, the Federal Association of the German Lime Industry and the German Cement Works Association, among others, call on the Dutch, ...
Cementir Holding is launching an ambitious professional training and induction project dedicated to young, talented graduates in engineering or related scientific disciplines: the CE-MENTorship ...