Kiln comprising a protective segment at the kiln outlet
(22) 16.09.2021
(43) 25.11.2019
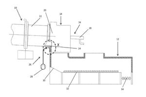
(57) A kiln for firing cement clinker may include a tubular rotary drum that can be rotated about its central axis. The tubular rotary drum may have a discharge end at which the cement clinker leaves the kiln. A protective segment may be attached at the discharge end and may have an outward-facing wear surface and an inward-facing cooling surface. The kiln may include a cooling device for generating a cooling air flow that flows along the inward-facing cooling surface of the protective segment. The inward-facing cooling surface can include profile bodies that are...
(22) 16.09.2021
(43) 25.11.2019
(57) A kiln for firing cement clinker may include a tubular rotary drum that can be rotated about its central axis. The tubular rotary drum may have a discharge end at which the cement clinker leaves the kiln. A protective segment may be attached at the discharge end and may have an outward-facing wear surface and an inward-facing cooling surface. The kiln may include a cooling device for generating a cooling air flow that flows along the inward-facing cooling surface of the protective segment. The inward-facing cooling surface can include profile bodies that are pin-shaped. The profile bodies may be uniformly spaced apart, parallel to one another, and/or present over 20% to 60% of the inward-facing cooling surface.
(71) thyssenkrupp Industrial Solutions AG, Essen (DE); thyssenkrupp AG, Essen (DE)
(73) thyssenkrupp Industrial Solutions AG, Essen (DE); thyssenkrupp AG, Essen (DE)
