Issue 1-2/2020

COVER STORY
Efficient processing line for high-quality refuse-derived fuels – a case study of Votorantim Cimentos in Turkey

SPOTLIGHT
Oxyfuel Research Corporation

COMPANIES
MissionZero to reduce emissions in cement

EVENTS
6th Alternative Fuels Symposium

PLANT REPORT
Anaerobic Digestion (AD)

PROCESS
Smallscale MSW to RDF production facility


Content

Editorial

This is a time for optimism

It was not only free trade and open markets that determined the catalogue of topics at this year‘s World Economic Forum Annual Meeting in Davos – climate protection has become a central focus. On ...

more

Spotlight

FLSMIDTH A/S

New Group Chief Financial Officer

Roland M. Andersen was appointed Chief Financial Officer and member of Group Executive Management. He joins FLSmidth from NKT and brings 25 years of solid experience and new competences through his...

more
CECE

Niklas Nillroth takes over CECE Presidency

Since 01.01.2020 Niklas Nillroth is the new President of CECE. He succeeds Enrico Prandini of UNACEA & Komatsu. The CECE presidency is a rotating post held for two consecutive years by each of the...

more
INTERCEM ENGINEERING GMBH

New order for two coal dust dosing systems

In November 2019, Solnhofer Portland Cement awarded Intercem the contract for the engineering, planning and installation of two coal dust dosing systems. The existing plant was recorded by laser scan...

more
SIKA AG

Sika opens mortar plant in Ethiopia

Sika is starting the operations of a new mortar plant at its existing site in Addis Ababa/Ethiopia, thus expanding its portfolio of locally manufactured products. After building a production facility...

more

Products

Companies

Events

Plant report

Process

IAB – WEIMAR INSTITUTE OF APPLIED CONSTRUCTION RESEARCH

Rock powder as aggregate for hydraulic binders

In the extraction and production of high-grade aggregates, the formation of finely dispersed particles is unavoidable. Up until now, these rock powder were only partly or not utilized at all. A...

more

Cover Story

Patents

US 10 457 598 B1

Method of manufacturing hydrated lime

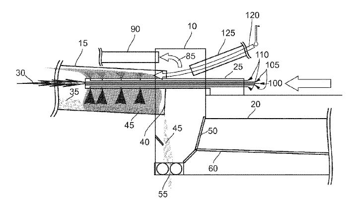
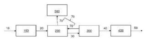
(22) 28.03.2018(45) 29.10.2019(57) A method of providing highly reactive hydrated lime and the resultant lime hydrate where an initial lime feed comprising calcium and impurities is first ground to a...

more

Column

Getting more out of your plant

matthias Mersmann

Cement plants are constantly in optimization mode: in sold-out markets, production output must be maximized, while in saturated markets production costs must be minimized. Tighter environmental ...

more