Method for preparing sulphoaluminate cement by using cyanide tailings
(22) 16.05.2018
(43) 07.11.2019
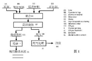
(57) A method for preparing aluminosulfate cement using cyanide tailings, comprising the following steps: (1) preparing cyanide tailings, lime and an aluminum material as raw materials, and adding or not adding a mineralizer to prepare a mixed material; (2) performing high-temperature sintering by means of a high-temperature kiln to obtain sintered clinker; and (3) cooling the same to room temperature by means of a cooling kiln, and performing cement powder grinding treatment to prepare aluminosulfate cement. The method has a good cyanide removal effect and has a...
(22) 16.05.2018
(43) 07.11.2019
(57) A method for preparing aluminosulfate cement using cyanide tailings, comprising the following steps: (1) preparing cyanide tailings, lime and an aluminum material as raw materials, and adding or not adding a mineralizer to prepare a mixed material; (2) performing high-temperature sintering by means of a high-temperature kiln to obtain sintered clinker; and (3) cooling the same to room temperature by means of a cooling kiln, and performing cement powder grinding treatment to prepare aluminosulfate cement. The method has a good cyanide removal effect and has a cyanide removal rate of 99 % or more. The high-temperature sintered aluminosulfate cement is a high-strength and fast-hardening cement, and can fully meet the required cement amount for capital construction and backfilling of gold ore enterprises.
(71) Northeastern University, Liaoning 110819 (CN)
