Method of manufacturing hydrated lime
(22) 28.03.2018
(45) 29.10.2019
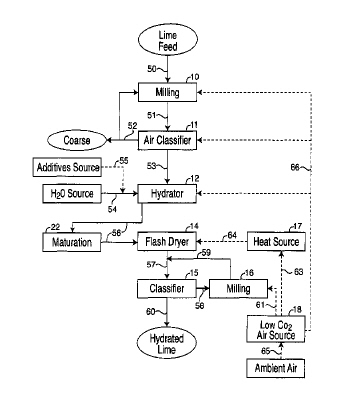
(57) A method of providing highly reactive hydrated lime and the resultant lime hydrate where an initial lime feed comprising calcium and impurities is first ground to a particle-size distribution with relatively course particles. Smaller particles are then removed from this ground lime and the smaller particles are hydrated and flash dried to form a hydrated lime, which is then milled to a significantly smaller particle size than that of the relatively course particles.
(71) Mississippi Lime Company, St. Louis, MO (US)
(73) Mississippi Lime Company, St. Louis, MO...
(22) 28.03.2018
(45) 29.10.2019
(57) A method of providing highly reactive hydrated lime and the resultant lime hydrate where an initial lime feed comprising calcium and impurities is first ground to a particle-size distribution with relatively course particles. Smaller particles are then removed from this ground lime and the smaller particles are hydrated and flash dried to form a hydrated lime, which is then milled to a significantly smaller particle size than that of the relatively course particles.
(71) Mississippi Lime Company, St. Louis, MO (US)
(73) Mississippi Lime Company, St. Louis, MO (US)
