In December 2018, not only the international community met for the Climate Change Conference in Katowice/Poland. The World Cement Association (WCA) had also included the global climate on the agenda...
The companies in Halls 5, 6, 7 and 8 are developing and supplying the prerequisites for what will be the lead theme of the world’s foremost industrial technology show in 2019: Integrated Industry –...
Recently thomas zement awarded Humboldt Wedag GmbH (KHD) a brown field EPC contract for upgrading its raw material grinding plant in Erwitte/Germany. This fast track project comprises:Process-,...
LafargeHolcim has signed an agreement with Semen Indonesia for the disposal of its entire shareholding of 80.6 % in Holcim Indonesia for an enterprise value of US$ 1.75 billion, on a 100 % basis....
Cemex announced the winners of the 27th edition of the Cemex Building Award at a ceremony celebrated on 09.11.2018 in Mexico City.The 2018 Cemex Building Award received 623 entries in the Mexico...
The World Cement Association has said it expects global cement demand growth to slow in 2019, as the positive outlook and signs of recovery seen in the second half of 2016 have started to fade away in...
Metso has closed the acquisition of the UK-based combustion solutions and technology provider Kiln Flame Systems Ltd., KFS, to extend its pyro processing portfolio and capabilities.KFS specializes in...
The Portland Cement Association (PCA) announced that Tom Beck, President of the Continental Cement Company, has been elected Chairman of the PCA Board of Directors, and Ron Henley, President of GCC of...
On 07.12.2018, company stakeholders and management agreed to appoint Jürgen Lutter as authorized signatory for the companies Calcis Lienen GmbH & Co. KG and Calcis Warstein GmbH & Co. KG.Mr. Lutter...
Sika has opened a new production plant in Central America, located in Palin in the metropolitan area of Guatemala City. This move further expands the company’s market position in the emerging...
The Portland Cement Association (PCA) Market Intelligence Group forecast for cement consumption over the next two years, shows less growth compared with 2018. This year’s rate of change is 2.9 %. ...
The World Cement Association (WCA) announced the opening of its World Cement Association Beijing and President’s office. The facility will be an addition to the association’s headquarters in London...
Sika Peru has opened new headquarters in the metropolitan area of Lima and introduced a modern plant for the production of concrete admixtures, mortar products, and acrylic liquid applied membranes...
Thanks to a simultaneous construction output growth in the 19 Euroconstruct countries for the first time since years, 2017 recorded a growth peak of 4.1 % (volume). The construction market should keep...
VDZ has released its new International Training Programme 2019 which covers a broad scope of topics on the production of cement and its application in mortar and concrete. The programme is founded on...
Whether it be for cement, mortar or plaster – efficient and sustainable packing materials are playing an increasingly important role in the packaging of building materials. Paper sacks offer ...
The 6th International LafargeHolcim Forum for Sustainable Construction will be hosted by the American University in Cairo/Egypt from 04.04.-06.04.2019. The LafargeHolcim Forum is dedicated to the
...
ABB is integrating positioning control within its ACS880 variable speed drives to allow operators to meet motion system demands without the need of an external controller. Embedding position control...
Siemens is launching Sinec NMS, a powerful, future-proof network management system (NMS). It enables users to master the growing demands placed upon industrial communication networks, such as the...
Introducing alternative fuels can be a challenge. Getting the approvals. Working out the right fuel mix. Even identifying the best fuel sources. The Pfister AF Starter Kit allows all this to be done...
“A cement plant doesn’t necessarily have to be a grey and dusty affair …” – at least if you ask Erich Frommwald, CEO of the Kirchdorfer Group. After a number of innovative measures regarding
...
On 15.11.-16.11.2018, Beijing was all about the refractory industry. The World Refractories Association met at the Extraordinary General Assembly and Conference on Innovation in the Chinese capital....
This year’s Arab International Cement Conference and Exhibition (AICCE) was held in Amman/Jordan from 20.11.-22.11.2018. For the 23rd time the event was organized by the Arab Union for Cement and...
The World Cement Association (WCA) presented its WCA Climate Change Action Plan in London on 05.12.2018. The aim of the cement plants organized in the WCA is to make a concerted contribution to the ...
In the past, when construction material manufacturer Schomburg of Detmold needed to unload bulk materials from trucks, the process was very loud. The silo trucks were unloaded using the truck-mounted...
Alternative fuels are essential for economically efficient cement production. Waste, packaging and other materials can serve as replacements for expensive fossil fuels like coal and oil. But first ...
The use of alternative fuels in the U.S. cement industry is an interesting study in economics, incentives, and the law. Each of these drivers makes alternative fuel use in the United States quite...
Lindner-Recyclingtech is responding to the increasing demands placed on the automated sorting of valuable recyclables as well as the ensuing rise in the need among producers of solid recovered fuels...
As NOx emissions become more and more severe it is important to find a method of low nitrogen combustion for coal in the precalciners in the cement industry. The operating temperature and the grade of...
(22) 29.09.2016(45) 27.09.2018(57) The invention relates to a gypsum-cement dry mix, the use thereof and a method for producing prefabricated construction parts using the gypsum-cement dry mix. For...
(22) 07.06.2018(45) 04.10.2018(57) Cement slurries, cured cements, and methods of making cured cement and methods of using cement slurries are provided. The cement slurries have, among other...
(22) 02.05.2018(45) 11.10.2018(57) A method for accelerating the strength of cement involves providing an activated fly ash processed to increase the surface area of the fly ash and reacting the...
(22) 19.10.2016(43) 11.10.2018(57) A long-term stabilized aqueous initiator composition, which includes components for curing of a two-component mortar system composition. The long-term stabilized...
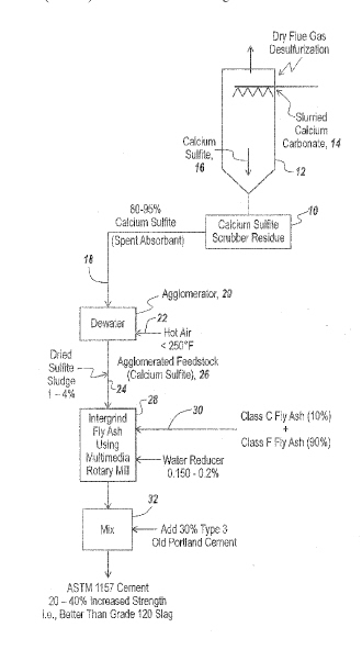
(22) 07.11.2017(43) 20.09.2018(57) A method for co-producing sulphoaluminate cement and sulfur by using desulfurized gypsum and aluminum ash, comprising: (1) drying aluminum ash, and heating...
(22) 24.02.2018(43) 20.09.2018(57) The Immersion tube with a shackle for cement kiln comprises refractory upper segment along with hanger parts; refractory hanger; refractory intermediate segment;...
(22) 29.03.2018(43) 04.10.2018(57) [Problem] To provide a molded article that uses hydraulic lime and a method for producing same. [Solution] A molded article having a flexural strength of at least...
(22) 28.08.2018(43) 19.10.2018(57) Summary of the corresponding patent WO2015173525 (A1): The invention relates to an ultra-fast setting cement composition comprising at least amorphous calcium...
(22) 12.09.2018(43) 02.11.2018(57) Summary of the corresponding patent EP2662346 (A1): A method is described for reducing hexavalent chromium in common cements and cement based materials comprising...
(22) 18.04.2018(43) 31.10.2018(57) Summary of the corresponding patent DE102007018579 (A1): Die vorliegende Erfindung betrifft einen flexiblen Baumaterialsack (1) für schüttfähiges Material,...
(22) 26.06.2018(43) 18.10.2018(57) A composition and method of forming a wellbore cement that includes a cross-linked polyamide. The polyamide is formed by reacting a di-functional amine with an...
(22) 12.03.2018(43) 25.10.2018(57) A modified gypsum set accelerator and a method of preparing the same is provided, which includes dry loose finely ground particles of a mixture of ground dry calcium...
(22) 23.07.2018(43) 15.11.2018(57) A cement composition for use in a well that penetrates a subterranean formation comprising: cement; water; and an additive comprising zirconium dioxide, wherein at...
(22) 26.08.2016(43) 15.11.2018(57) A method and system for calculating the viscosity of cement slurry used for a primary cementing of an oil or gas well (12) comprises: pumping the cement slurry along...
(22) 05.02.2018(43) 25.10.2018(57) Disclosed is a lime kiln device for fully recovering CO2 and a lime preparation method thereof. The lime kiln device comprise a kiln body (100) and a heating furnace...
Medium-sized companies have a different culture than corporations. But their management culture must also change – partly because their employees and their expectations of leadership have changed.
Resource-conserving building construction within the recycling system has been made possible in Switzerland by standards that are in step with current practice and through the willingness to undertake...