Measurement of cement properties
(22) 26.08.2016
(43) 15.11.2018
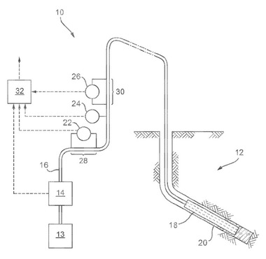
(57) A method and system for calculating the viscosity of cement slurry used for a primary cementing of an oil or gas well (12) comprises: pumping the cement slurry along a conduit (16) to a cementing location (20); measuring a first pressure loss along a first, horizontal portion (28) of the conduit (16) and a second pressure loss along a second, vertical portion (30) of the conduit (16); and calculating a viscosity of the cement slurry based at least in part on the first and second pressure losses and a flow rate of the cement slurry.
(71) Statoil Petroleum AS...
(22) 26.08.2016
(43) 15.11.2018
(57) A method and system for calculating the viscosity of cement slurry used for a primary cementing of an oil or gas well (12) comprises: pumping the cement slurry along a conduit (16) to a cementing location (20); measuring a first pressure loss along a first, horizontal portion (28) of the conduit (16) and a second pressure loss along a second, vertical portion (30) of the conduit (16); and calculating a viscosity of the cement slurry based at least in part on the first and second pressure losses and a flow rate of the cement slurry.
(71) Statoil Petroleum AS (NO)
