Pozzolanic cementitious materials and methods of making same
(22) 02.05.2018
(45) 11.10.2018
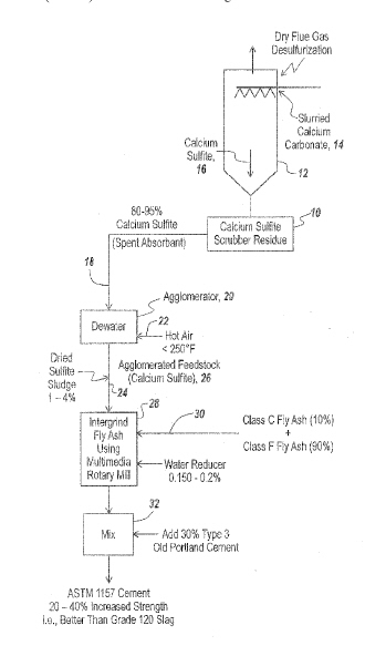
(57) A method for accelerating the strength of cement involves providing an activated fly ash processed to increase the surface area of the fly ash and reacting the activated fly ash with a polycarboxylate heteropolymer that acts as a catalyst to produce a pozzolanic cementitious material having as much as a 28 % increase in strength (e.g., compressive strength). In one embodiment, the heteropolymer includes hydrophilic and hydrophobic components that assist in providing an optimal equilibrium for the formation of cementitious structures. The increase in strength...
(22) 02.05.2018
(45) 11.10.2018
(57) A method for accelerating the strength of cement involves providing an activated fly ash processed to increase the surface area of the fly ash and reacting the activated fly ash with a polycarboxylate heteropolymer that acts as a catalyst to produce a pozzolanic cementitious material having as much as a 28 % increase in strength (e.g., compressive strength). In one embodiment, the heteropolymer includes hydrophilic and hydrophobic components that assist in providing an optimal equilibrium for the formation of cementitious structures. The increase in strength permits reducing the amount of Portland Cement mixed with the pozzolanic cementitious material to as little as 30 %, thus achieving a significant cost reduction.
(71) VHSC, Ltd., Tortola (VG)
