Content

Editorial

Dear readers

In this issue of ZKG International, too, we have a spate of reports for you about topical sector-specific issues and the latest research findings. We interviewed Florian Hofbauer ...

more

Spotlight

11.04.–17.04.2016, Munich/Germany

bauma booked to capacity once again

bauma 2016, which is taking place in Munich from 11 to 17 April 2016, will occupy all 605 000 m² of space at the ­Munich trade fair centre. The...

more
CLAUDIUS PETERS PROJECTS GMBH

Batisöke has ordered new silos for line III 5000 t/d

In the last quarter of 2015 Batisöke Söke Çimento Sanayii T.A. S ¸ ., Söke/Turkey, signed a contract with Claudius Peters Projects for the delivery of three silos. Batisöke was founded in 1955 and is a longtime client of Claudius Peters. The scope of supply comprises two dual cell silos ...

more

Products

Events

VDZ TECHNICAL CONFERENCE ON CEMENT PROCESS ENGINEERING, DÜSSELDORF/GERMANY (04.02.2016)

Focus on environmental technology and process engineering developments

t’s a long tradition that the VDZ Technical Conference on Cement Process Engineering takes place on Weiberfastnacht (“Women’s Carnival”), during Germany’s annual “Karneval” festivities. This year, too, nearly 200 specialists from the cement industry and allied disciplines met for the kick-off of the street pageant in ...

more

Interview

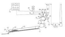
FLORIAN HOFBAUER, RENK AG, AUGSBURG/Germany

The new Renk COPE Drive for Loesche mills

On August 18, 2015, and together with mill manufacturer Loesche, Renk presented the new COPE Drive for Loesche mills to an international audience of cement industry experts gathered in Augsburg. We interviewed Florian Hofbauer, Executive Board member of Renk AG, about the new drive system and its advantages. ...

more

Plant report

LEIBLEIN

Wet preparation at Schaefer Kalk

Schaefer Kalk, with registered offices in Diez an der Lahn, is a family-managed lime industry company with a long tradition and plants located in Germany, Europe and around the globe. Ever since the company’s foundation in 1860, innovative thinking, high quality standards and diversification into lime products for numerous industries have made Schaefer Kalk a byword for burned and unburned lime products, precipitated calcium carbonates (PCC) and premixed dry mortars. Its range of products extends from ...

more

Process

Materials

Patents