Content

Editorial

Carry on as normal, ...

… that’s no longer possible following the attacks in Paris. The terrible pictures have been burnt into the brain and the horror is ever-present. In my work on trade journals, my rule has always ...

more

Spotlight

LOESCHE

Follow-up order from Sun Cement for Loesche

At the Mokpo cement plant in Korea, in order to ensure more cost-effective production, plans have been made to replace the current outdated ball mill with a new grinding plant. For this reason, Loesche has been commissioned to deliver a LM 35.2+2 CS ...

more
THYSSENKRUPP INDUSTRIAL SOLUTIONS

ThyssenKrupp receives order to build cement plant in Colombia

ThyssenKrupp Industrial Solutions, the plant engineering and construction specialist of the ThyssenKrupp Group, has received an order to build a cement clinker production line from Cem­entos Argos, one of the biggest cement producers in Colombia and ...

more

Products

Companies

Events

Interview

M. Ş EFIK TÜZÜN, CHAIRMAN OF THE BOARD, TURKISH CEMENT MANUFACTURERS‘ ASSOCIATON

Ten questions for M. Şefik Tüzün

We talked to M. Ş efik Tüzün, Chairman of the Board, Turkish Cement Manufacturers’ Association, about the situation of the Turkish cement manufacturers at the 2015 TCMB conference in Antalya. ZKG: How many cement plants are there currently in Turkey, how are these distributed ...

more

Markets and Trends

ONESTONE CONSULTING S.L.

Outlook of the white cement industry

The market for white cement is growing fast, faster than the market for grey cement. However, white cement is less of a commodity and the market characteristics are not only very specific but also very different to grey cement. ...

more
NATIONAL COUNCIL FOR CEMENT AND BUILDING MATERIALS INDIA

The Indian cement sector – technological status and prospects

The Indian Cement Industry continues to be the second largest producer in the world, with installed capacity of around 390 million t and annual production of 270 million t in 2014-15. Future investment plans and policies of the ...

more

Process

SIEMENS AG

Automation optimizes fuel supply

A large cement plant in Paderborn has a long tradition. Founded in 1926 as the Atlas plant, just three years later it became the largest cement plant...

more

Engineering

GEA BISCHOFF GMBH (GEA DEUTSCHLAND)

Efficient gas clean-up for the cement industry

ECOpuls technology, with its rotating cleaning manifold, is used around the globe, in the cement industry, among others, for the dedusting of kiln/raw-mill gas, clinker-cooler gas and bypass dedusting. Clean-gas dust content of below 5 mg/Nm³ and even less can be achieved with certainty using this well-proven technology. The term “zero-emissions system” has ...

more

Patents

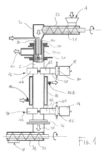
US 2015/0274590 A1

Cement production apparatus

(22) 09.08.2013 (43) 01.10.2015 (57) Providing a cement production apparatus in which raw material is supplied into a duct with being dispersed...

more