Method and device for cooling and comminuting hot cement clinker
(22) 16.04.2015
(43) 22.10.2015
(57) The invention relates to a method for cooling and comminuting hot cement clinker (1) in a cooler (3) and to a corresponding device, wherein the cooler (3) has at least one inlet region (5) for receiving the hot cement clinker (1), a recuperation region (7), a final cooling region (17) having at least one device (18a, 18b) for cooling the cement clinker (1), at least one opening (10) for blowing cooling air (11) into the recuperation region (7), a tertiary air line (13) for conducting away heated cooling air (11), an outlet region (20) for discharging cooled...
(22) 16.04.2015
(43) 22.10.2015
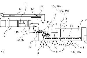
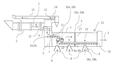
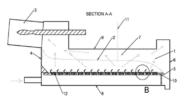
(57) The invention relates to a method for cooling and comminuting hot cement clinker (1) in a cooler (3) and to a corresponding device, wherein the cooler (3) has at least one inlet region (5) for receiving the hot cement clinker (1), a recuperation region (7), a final cooling region (17) having at least one device (18a, 18b) for cooling the cement clinker (1), at least one opening (10) for blowing cooling air (11) into the recuperation region (7), a tertiary air line (13) for conducting away heated cooling air (11), an outlet region (20) for discharging cooled cement clinker (1), and at least one conveying means (6a, 6b) for transporting the cement clinker (1), through the cooler (3), the hot cement clinker (1) is tipped into the cooler (3) through an input opening (4) into the inlet region (5), the cement clinker (1) is transported by the conveying means (6a, 6b) from the inlet region (5), through the recuperation region (7) and the final cooling region (17), to the outlet region (20), and ambient air (9) is blown as cooling air (11) into the recuperation region (7) through the at least one opening (10). According to the invention, comminution of the cement clinker (1) by at least one device (16a, 16b), arranged in the recuperation region (7), for comminuting clinker (1) is provided.
(71) KHD Humboldt Wedag GmbH, Colonia-Allee 3, 51067 Köln (DE)
(84) ARIPO (BW GH GM KE LR LS MW MZ NA RW SD SL ST SZ TZ UG ZM ZW), Eurasian (AM AZ BY KG KZ RU TJ TM), European (AL AT BE BG CH CY CZ DE DK EE ES FI FR GB GR HR HU IE IS IT LT LU LV MC MK MT NL NO PL PT RO RS SE SI SK SM TR), OAPI (BF BJ CF CG CI CM GA GN GQ GW KM ML MR NE SN TD TG)
