Clinker inlet distribution of a cement clinker cooler
(22) 30.06.2016
(43) 12.01.2017
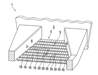
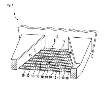
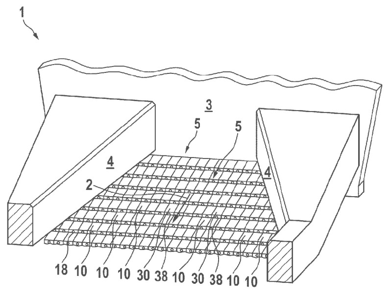
(57) A clinker inlet distribution grate for feeding a conveyor grate with clinker previously discharged from a kiln onto the clinker inlet distribution grate wherein the clinker inlet distribution grate comprises at least a chute with at least two grate elements being arranged one besides the other providing a chute enables to easily remove clinker agglomerations, so called snowmen if at least a first of said at least two grate elements is static and that at least a second of said at least two grate elements is movable orthogonally to the cross direction of the...
(22) 30.06.2016
(43) 12.01.2017
(57) A clinker inlet distribution grate for feeding a conveyor grate with clinker previously discharged from a kiln onto the clinker inlet distribution grate wherein the clinker inlet distribution grate comprises at least a chute with at least two grate elements being arranged one besides the other providing a chute enables to easily remove clinker agglomerations, so called snowmen if at least a first of said at least two grate elements is static and that at least a second of said at least two grate elements is movable orthogonally to the cross direction of the chute.
(71) Alite GmbH, Brauerhof 1, 31535 Neustadt (DE)
(84) ARIPO (BW, GH, GM, KE, LR, LS, MW, MZ, NA, RW, SD, SL, ST, SZ, TZ, UG, ZM, ZW), Eurasian (AM, AZ, BY, KG, KZ, RU, TJ, TM), European (AL, AT, BE, BG, CH, CY, CZ, DE, DK, EE, ES, FI, FR, GB, GR, HR, HU, IE, IS, IT, LT, LU, LV, MC, MK, MT, NL, NO, PL, PT, RO, RS, SE, SI, SK, SM, TR), OAPI (BF, BJ, CF, CG, CI, CM, GA, GN, GQ, GW, KM, ML, MR, NE, SN, TD, TG)
