Clinker inlet distribution of a cement clinker cooler
(22) 14.12.2017
(43) 24.05.2018
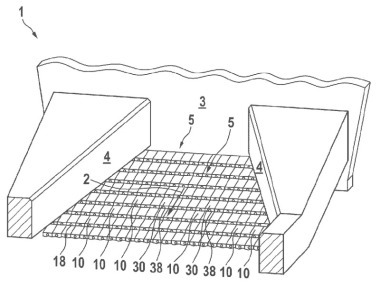
(57) A clinker inlet distribution grate for feeding a conveyor grate with clinker, previously discharged from a kiln onto the clinker inlet distribution grate wherein the clinker inlet distribution grate comprises at least a chute with at least two grate elements being arranged one besides the other providing a chute enables to easily remove clinker agglomerations, so called snowmen if at least a first of said at least two grate elements is static and that at least a second of said at least two grate elements is movable orthogonally to the cross direction of the...
(22) 14.12.2017
(43) 24.05.2018
(57) A clinker inlet distribution grate for feeding a conveyor grate with clinker, previously discharged from a kiln onto the clinker inlet distribution grate wherein the clinker inlet distribution grate comprises at least a chute with at least two grate elements being arranged one besides the other providing a chute enables to easily remove clinker agglomerations, so called snowmen if at least a first of said at least two grate elements is static and that at least a second of said at least two grate elements is movable orthogonally to the cross direction of the chute.
(71) Alite GmbH, Neustadt (DE)
