Cement clinker cooler grate
(22) 07.08.2015
(43) 08.02.2017
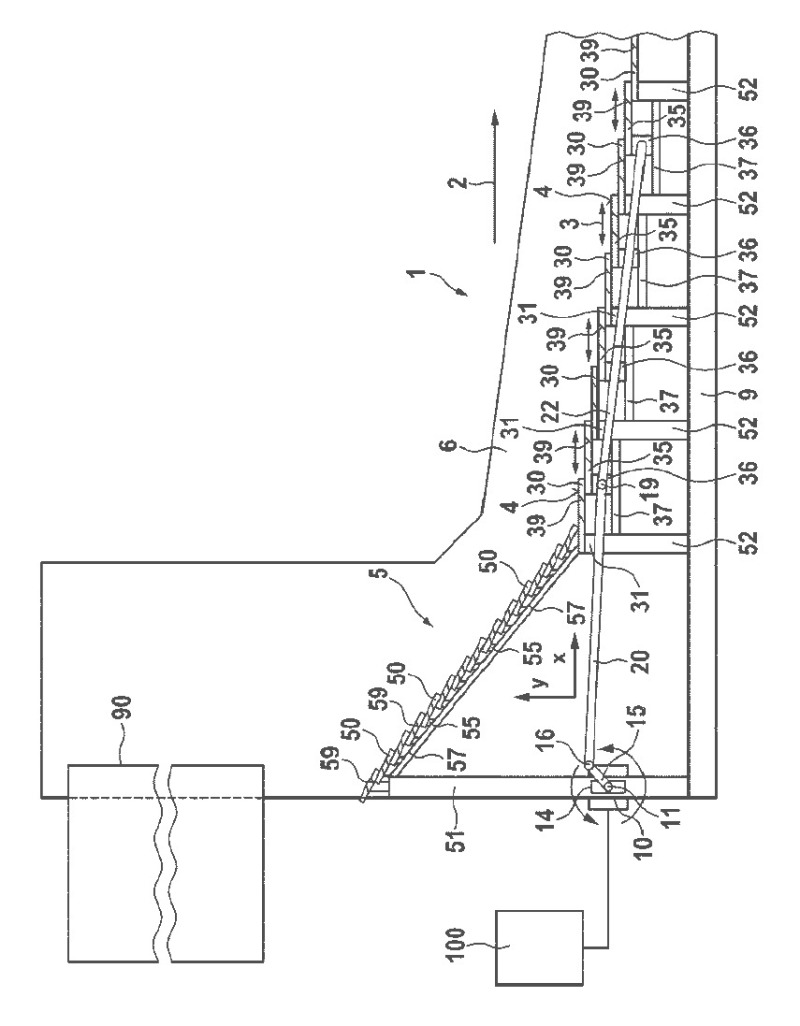
(57) A cement clinker cooler grate 1 for cooling and conveying cement clinker in a forward direction 2 comprising a grate surface for supporting the clinker, which is conveyed by some reciprocating conveying means 35, e.g. a reciprocating row of grate plates 35, being arranged one besides of the other on a reciprocating cross beam 36, provides reduced installation, operation and maintenance costs if the actuator for driving the reciprocating conveying means 35 is an electric motor 10 being operably connected to the reciprocating conveying means 35 and if a...
(22) 07.08.2015
(43) 08.02.2017
(57) A cement clinker cooler grate 1 for cooling and conveying cement clinker in a forward direction 2 comprising a grate surface for supporting the clinker, which is conveyed by some reciprocating conveying means 35, e.g. a reciprocating row of grate plates 35, being arranged one besides of the other on a reciprocating cross beam 36, provides reduced installation, operation and maintenance costs if the actuator for driving the reciprocating conveying means 35 is an electric motor 10 being operably connected to the reciprocating conveying means 35 and if a controller 100 is connected to the electric motor 10 for controlling the rotational speed of the motor 10 as a function of the position and/or the direction of movement of the reciprocating conveying means 35.
(71) Alite GmbH, 31535 Neustadt (DE)
(84) Designated Contracting States: AL AT BE BG CH CY CZ DE DK EE ES Fl FR GB GR HR HU IE IS IT LI LT LU LV MC MK MT NL NO PL PT RO RS SE SI SK SM TR Designated Extension States: BA ME Designated Validation States: MA
