Clinker cooler and method for operating a clinker cooler
(22) 13.06.2019
(43) 19.12.2019
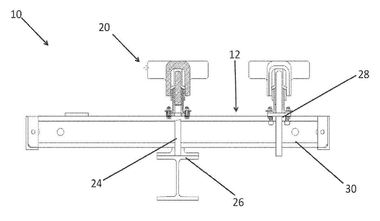
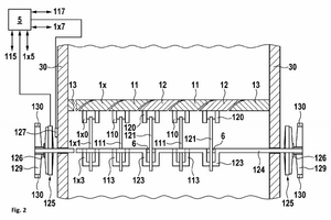
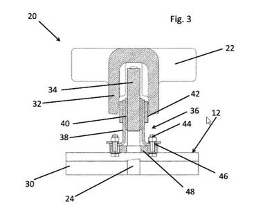
(57) A conveyor grate (10) for conveying bulk material, preferably cement clinker, in a conveying direction, wherein the conveyor grate (10) has at least two conveying means (l l, 12) and at least one motor for advancing the at least two conveying means (l l, 12) in the conveying direction and for retracting the at least two conveying means 10, I I can be installed and operated at reduced costs, if a first of the at least two conveying means (l l, 12) is coupled via a first clutch (115) to the motor and a second of the at least two conveying means (Il, 12) is...
(22) 13.06.2019
(43) 19.12.2019
(57) A conveyor grate (10) for conveying bulk material, preferably cement clinker, in a conveying direction, wherein the conveyor grate (10) has at least two conveying means (l l, 12) and at least one motor for advancing the at least two conveying means (l l, 12) in the conveying direction and for retracting the at least two conveying means 10, I I can be installed and operated at reduced costs, if a first of the at least two conveying means (l l, 12) is coupled via a first clutch (115) to the motor and a second of the at least two conveying means (Il, 12) is coupled via a second clutch (125) to the same motor.
(71) Alite GmbH, Brauerhof 1, 31535 Neustadt (DE)
(84) ARIPO (BW, GH, GM, KE LR, LS, MW, MZ, NA, RW, SD, SL, ST, SZ, TZ, UG, ZM, ZW), Eurasian (AM, AZ, BY, KG, KZ, RE, TJ, TM), European (AL, AT, BE, BG, CH, CY, CZ, DE, DR, EE, ES, Fl, FR, GB, GR, HR, HU, E, IS, IT, LT, LU, IN, MC, MT, NL, NO, PL, PT, RO, RS, SE, Sl, SK, SM (…)
