Clinker cooler and method for operating a clinker cooler
(22) 04.11.2020
(43) 11.03.2021
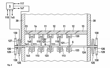
(57) A conveyor grate for conveying bulk material (preferably cement clinker) in a conveying direction, which has at least two conveying means and at least one motor for advancing such conveying means in the conveying direction and for retracting the conveying means. The grate can be installed and operated at reduced costs, if a first of these conveying means is coupled via a first clutch to the motor and a second of these conveying means is coupled via a second clutch to the same motor.
(71) Alite GmbH, Neustadt (DE)
(22) 04.11.2020
(43) 11.03.2021
(57) A conveyor grate for conveying bulk material (preferably cement clinker) in a conveying direction, which has at least two conveying means and at least one motor for advancing such conveying means in the conveying direction and for retracting the conveying means. The grate can be installed and operated at reduced costs, if a first of these conveying means is coupled via a first clutch to the motor and a second of these conveying means is coupled via a second clutch to the same motor.
(71) Alite GmbH, Neustadt (DE)
