The topic of CO2 reduction is ever-present and one of the most pressing issues in our industries, cement, lime and gypsum production, too. One possibility for CO2 reduction in the cement industry is ...
GEA has received an order from thomas zement for a turnkey plant for the reduction of NOx in flue gas. The order comprises two new reactors for selective catalytic reduction (SCR) including handling...
Dal Machinery & Design, a company of the Dal Engineering Group, was awarded the contract for delivering two surface feeders with a capacity of 2 x 200 t/h to Cementos Argos’ Rio Claro cement plant in...
Dal Teknik Makina, a company of the Dal Engineering Group, is converting the gray cement production line to the production of white cement and supplying the engineering and the production of certain...
Fons Delta clinker cooler is now in Condorcorcha/Peru. Being one of the biggest cement producers in Peru, Unacem is always open to new technologies. After very detailed technical negotiations, Unacem...
Aumund Fördertechnik has won a significant order from Turkey. The order from Aslan Cement Inc. comprises nine machines. The company is part of the Oyak Cement Group, one of the leading Turkish cement...
Aerzen has improved the pneumatic conveying coal feeding system to the main burner at the Holcim Colombia plant. The plant is located in Nobsa, a small town 2.5 h away from Bogotá. The plant capacity...
PT Anugerah Mortar Abadi is part of the Indonesian Triputra Group. In Wanaherang near Jakarta the company has taken a new dry mortar plant into operation. Here, various types of plaster, mortar, tile...
Sika has completed the acquisition of Parex on 23.05.2019. The deal was announced on 08.01.2019. With annual sales of CHF 1.2 billion, Parex is a leading mortar manufacturer with an impressive track...
As of 01.05.2019, Robert Schmied (54) has taken over management of the w&p site in Peggau. He is responsible for the lime, cement and mining divisions. Schmied will draw on his over 25 years of...
Cembureau, the European Cement Association, is calling on EU member states to take action and promote the reuse of waste as a fuel for cement manufacturing. The call was made during an event Cembureau...
Sika is starting operations at a plant in Doha/Qatar for the production of concrete admixtures. The country on the east coast of the Arabian peninsula is an attractive market thanks to large‐scale...
The World Cement Association has appointed Ian Riley as its first CEO, effective as of 01.09.2019. At the same time Norman Greig is retiring as Secretary General, a role he has held since the...
Kreisel successfully commissioned the silo bottom modification, silo discharge and fully automatic truck loading system of cement silo 10 in Korkino/Russia, with an unloading capacity of max. 250...
The World Cement Association announced that its annual conference will be held in China for the first time, this year. The WCA World Cement Conference will take place on 09.09.-11.09.2019 in Shanghai, ...
Following a thorough validation procedure, HeidelbergCement’s CO2 reduction targets 2030 have been successfully assessed against the Science Based Targets initiative’s (SBTi) criteria. This makes ...
Algematco Steel, a company of the Rahmoune Group, opts for the Pfeiffer vertical mill in the Relizane plant. Due to the continued success of Pfeiffer MVR vertical roller mills in the Algerian cement...
Secondary fuels employed at cement plants can be composed of very inhomogeneous materials, including diverse types of polymers, paper, wood and even small amounts of metal. Recycled wood and parts of...
Belt weigh feeders for alternative fuels serve in the continuous feeding of cement kilns and combustion boilers with alternative fuels. Such weighers must satisfy particularly demanding requirements, ...
Machine builder Windmöller & Hölscher concludes 2018 with sales of around € 895 million. The specialist for the flexible packaging market is continuing its course of growth of the recent years. The...
An independent report on the economic impact of one of the UK’s largest cement works has shown that it contributes £ 53 million to its local economy. The economic impact assessment report was...
From 14.05.-16.05.2019 around 200 participants from 32 countries joined the 8th International Symposium “Waste-to-Resources 2019“ in Hanover/Germany in order to present their newest developments and ...
Mexico’s mountains of waste may soon be history. To achieve this ambitious goal in a country that produces around 100000 t of waste a day, the affiliate of the cement giant LafargeHolcim is relying on...
The manufacture of cement is particularly energy-intensive. To reduce the use of valuable primary fuels like coal, HeidelbergCement is opting for alternative fuels, such as waste tyres. The calorific ...
Eight of the ten ASEAN countries have their own cement industry with significant clinker production. The countries can be split into mature, emerging and frontier countries, each one with its own...
Vecoplan AG offers shredding, screening, dosing and conveying solutions for a vast range of materials, including plastics, used wood, scrap wood, files and data storage media. The high-quality output...
A productive procedure for characterizing the pneumatic and combustion behaviour of lumpy secondary fuels is described. This can be used for calculating realistic flow and combustion processes.
Due to fluctuating properties, high proportions of alternative fuels are a major challenge for multi-fuel burners used in industrial combustion processes. This article presents a new, camera-based...
South Africa is rapidly running out of landfill airspace, and the granting of new licenses specifically for the landfilling of waste remains a challenge. The South African Department of Environmental...
Fuels are an important cost factor for the cement industry. While fossil fuels are becoming increasingly scarce and expensive, many substitute fuels are widely available. For cement producers, the use...
Calcium aluminate cement (CAC) is well known for its rapid hardening, early strength, impermeability, resistance to corrosion and other advantages. Calcium aluminate cement that contains spinel is...
(22) 19.09.2017(43) 18.04.2019(57) Provided are: a cement composition that retains properties as a mixing material such as improving fluidity and contributing to a strength development, said cement...
(22) 03.09.2018(45) 22.04.2019(57) Field: technological processes. Substance: invention relates to gas purification in electrofilters and can be used in power engineering, metallurgy, cement...
(22) 13.12.2018(43) 18.04.2019(57) A macro-cement and associated methods useful for preparing pastes, mortars, concretes and other cement-based materials having high workability, high density, and...
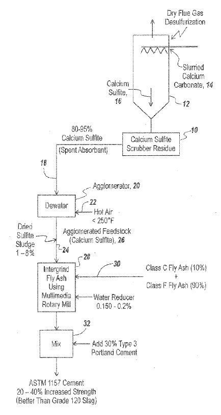
(22) 18.12.2018(43) 25.04.2019(57) A method for accelerating the strength of cement involves providing an activated fly ash processed to increase the surface area of the fly ash and reacting the...
(22) 28.03.2017(43) 25.04.2019(57) The present invention pertains to the discovery that short chain aliphatic fatty acids, such as potassium sorbate, can be used in liquid-additive grinding...
(22) 23.06.2017(43) 02.05.2019(57) The present invention relates to a method for producing a highly porous fine powdery slaked lime composition, comprising a fluidification step for forming said...
(22) 08.12.2017(43) 02.05.2019(57) The present disclosure relates to a cement additive composition including a polycarboxylic acid-based copolymer. When the cement additive composition of the present...
(22) 21.12.2018(43) 09.05.2019(57) The invention provides compositions and methods for controlling setting of carbonatable calcium silicate compositions that are contaminated with hydrating materials....
(22) 17.10.2017(43) 25.04.2019(57) The present disclosure relates to improved methods for producing a low CO2 cement composition. Disclosed herein are methods for producing a cement composition...
(22) 07.06.2017(43) 09.05.2019(57) The invention provides a process for producing a cement clinker comprising: (i) mixing one or more starting materials providing each at least one or more of CaO,...