Content

Editorial

The industries continue to evolve – even during the summer break

Even during the summer break, developments in the cement, lime, and gypsum sectors continue as usual. In this issue of ZKG, Erik von Lützau, Gotthard Walter, and Sabine Flamme discuss the “Potentials of material and energy recovery of ETICS waste with EPS in the cement plant”, while Dr. Joachim Harder focuses on “The Future of Calcined Clay by 2035 and 2050”, and Olaf Köster, Michelle Rollié and Christian Speith report on “The Góra ż d ż e modernization project”.

more

Spotlight

MAMMOET

First large-scale CCU plant built for the German cement industry

Mammoet is helping the industry to decarbonize by providing safe and efficient solutions for moving and installing heavy objects. This was the case for the construction of the first large-scale Carbon Capture and Utilisation (CCU) plant for the cement plant at the Lengfurt site of Heidelberg Materials - one of the world‘s largest manufacturers of building materials.

more
HEIDELBERG MATERIALS

Eleven Decks: Hamburg Speicherstadt red reinterpreted

The new “Eleven Decks” residential building in HafenCity Hamburg/Germany impresses with its striking architecture made of red exposed concrete. Balconies and loggias made of through-colored monolithic precast concrete elements set architectural accents. Cement from Heidelberg Materials played a central role in the realization of the sophisticated concrete elements.

more
CEPI EUROKRAFT

Comparative study highlights benefits of paper sacks over WPP alternatives

For producers of cement and building materials, efficiency, sustainability, and worker health and safety are key to operational success and brand reputation. Packaging plays a crucial role in all three areas. To assess performance, CEPI Eurokraft commissioned lab tests comparing paper and woven polypropylene (WPP) cement sacks.

more
VEGA

Radar level sensors from Vega: The smart choice for standard processes

Simple, smart and reliable – these characteristics have enabled the BASIC series of VEGAPULS radar sensors to establish itself as the benchmark in level measurement technology since its market launch in 2020. Compact, attractively priced and technologically superior, the sensors are setting a clear trend in process automation.

more
BETOLAR

Betolar Plc: 99% Yield confirmed in metal extraction tests

Betolar’s new innovative method for metallurgical processing of slags for metal extraction and green cement production has been tested at pilot scale with excellent results in collaboration with a Nordic partner. In metallurgical processing a significant amount of valuable metals remain in slags.

more
THERMOTEKNIX

Thermoteknix unveils enhanced temperature monitoring platform at IEEE

MultiView Enterprise, the latest technology innovation from Thermoteknix Systems Ltd., developed for cement plants, is the first integrated sensor platform to deliver operators and plant managers the ultimate display and control solution for temperature monitoring and measurement across their clinker manufacturing process.

more
THE PORTLAND COMPANY

Cement and building product industries benefit from new market approach with the Portland Company’s rotating PANTHERA-PACKER PVT®

The Portland Company, offering the world’s first Assemble to Order (ATO) packing equipment product line in partnership with Haver & Boecker, offers the PANTHERA-PACKER PVT packer*. This predefined rotary packing machine provides a standardized approach to filling industrial bulk materials in valve bags that range from 25 kg to 50 kg in size.

more
QLAR

Improved process reliability in sustainable cement production

With the completed expansion of its TestCenter in Darmstadt/Germany, Qlar now offers its customers comprehensive support in the simulation of blending processes. As part of sustainable cement production, the use of additives in concrete production can be tested and optimised.

more
KIRCHDORFER

Kirchdorfer Group: Leadership Change at the Top

31 May 2025 marked the end of an era at the Kirchdorfer Group: After more than 30 years with company, including 21 years at its helm – 18 as sole CEO and three in partnership with Michael Wardian – Erich Frommwald is stepping down from the management board.

more

Plant report

THYSSENKRUPP POLYSIUS GMBH

The Górażdże modernization project - a remarkable project in many respects

Polish cement manufacturer Heidelberg Materials Poland relied on the technical expertise and technology of thyssenkrupp Polysius to solve problems with its rotary kilns at its Górażdże plant. This modernization order was the largest single order to date for the thyssenkrupp Polysius Service Team in terms of value - and this one was for kiln lines from a third-party supplier.

more

Markets and Trends

ONESTONE CONSULTING LTD.

The Future of Calcined Clay by 2035 and 2050

The market for clay calcination is booming. However, up to now the production is not more than 0.05% of the global cement production, although it has been projected that by 2050 a global market share of 8% could be achieved. Is this still realistic? What are the main prospects and existing market barriers? Answers to these questions and more information is given in the following article.

more

Process

MARTIN ENGINEERING

A Clear Path: Eliminating Silo & Hopper Clogs

The drumming sound of bulk material hitting the metal sides of a hopper, bin or silo during loading is the sweet sound of production. If the noise becomes muffled, it likely indicates that the vessel is filling up, or it could signal the presence of buildup on the inside walls or the discharge gate. Once coarse material adheres, the buildup is generally fast and dense, eventually resulting in downtime to remove.

more
CLAUDIUS PETERS

Basic considerations for pneumatic conveying against high back pressures

Pneumatic conveying systems for injecting solids against very high back pressures (sometimes up to ≅ 50 bar) are used particularly in special gasification systems, but also in other processes. The following text provides a general insight into the aspects to be considered in the system concept and design for such requirements and provides appropriate calculation approaches.

more

News

FEDERAL ASSOCIATION OF THE GYPSUM INDUSTRY (GIPS)

FGD gypsum can largely be replaced by gypsum and anhydrite stone

For some time now, manufacturers’ associations have been pointing out that the phasing out of coal-fired power generation could lead to a shortfall in the supply of gypsum raw materials. The potential of gypsum recycling is currently insufficient and cannot be fully exploited due to the lack of a legal basis. Will there be a shortage of gypsum in Germany if coal-fired power plants are no longer connected to the grid? “Yes,” says a BGR study, which has now been presented to representatives from industry,

more
ROHRDORFER

Rohrdorf waste heat power plant produces certified green electricity

The waste heat power plant at the Rohrdorf cement works has been producing certified green electricity since January 2024. The certificate of origin issued by an environmental auditor proves that around a third of the 18.3 million kW/h of electricity produced at the power plant in 2024 comes from renewable energy.

more
ECOCEM

Ecocem receives EU funding to develop breakthrough electric arc furnace slag-based low-carbon cement

Ecocem, as part of a consortium of Europe’s leading academic and industrial leaders, has announced it has been awarded € 4 million in research funding the European Innovation Council (EIC). The grant comes as part of the EIC Pathfinder Challenges 2024 and will support a programme of work which will focus on optimising the environmental compatibility of Electric Arc Furnace (EAF) slag for low-carbon cement.

more

Materials Science

INSTITUTE FOR INFRASTRUCTURE - WATER - RESOURCES - ENVIRONMENT, MÜNSTER UNIVERSITY OF APPLIED SCIENCES

Potentials of material and energy recovery of ETICS waste with EPS in the cement plant

A large-scale test has shown that ETICS waste with HBCD-containing EPS can be materially and energetically recovered under controlled conditions without negative effects on emissions, operation and clinker quality - a possible building block for a broader raw materials strategy.

more

Patents

CN118420253 (A)

Preparation method of low-carbon general cement

(22) 24.02.2024(43) 02.08.2024(57) The invention discloses a preparation method of low-carbon general cement. The main technical method comprises the following steps: selecting a raw material...

more
CN119303690 (A)

Cement raw material grinding equipment

(22) 13.12.2024(43) 14.01.2025(57) The invention provides cement raw material grinding equipment, which belongs to the technical field of grinding, and comprises a support plate, a first ballmilling...

more
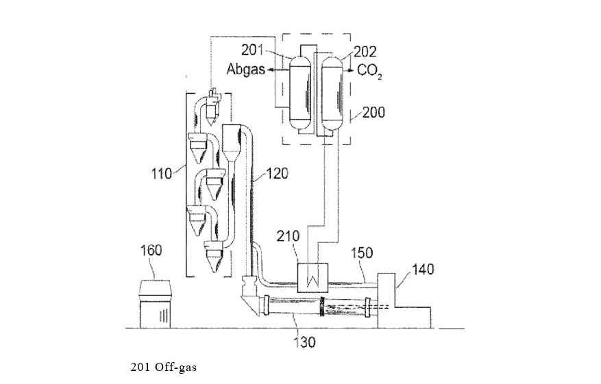
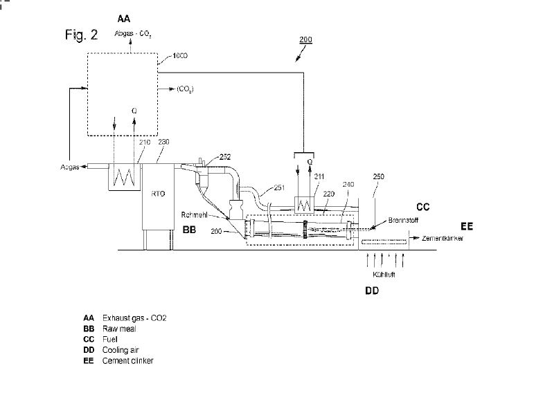
EP 4 194 417 A1

Method for manufacturing composite cement

(22) 07.03.2022(43) 14.06.2023 (57) Method for manufacturing a composite cement comprising the steps providing a cement raw meal, pre­heating the cement raw meal to provide preheated ce­ment raw meal,...

more

Column

The cement industry as a role model

When I entered the cement industry 30 years ago, I couldn‘t have made a better choice. I was looking for a job that was technically diverse and offered plenty of contact with people from all over the world. The relatively small, yet fully international cement industry offered all of this perfectly. Unfortunately, we are now seeing many countries around the world revert to archaic reflexes.

more