Use of thermal energy originating from a process for producing cement clinker, for operating a stage for removing carbon dioxide (CO2) from off-gases of the process
(22) 25.09.2024
(43) 10.04.2025
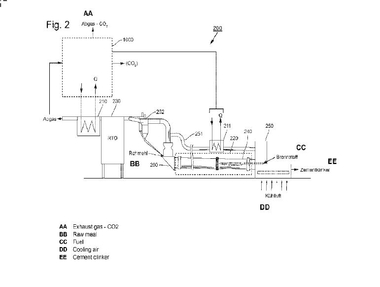
(57) The invention relates to the use of thermal energy that originates from a process for producing cement clinker in which ooff-gas is produced that is enriched with carbon dioxide (CO2).
(71) KHD HUMBOLDT WEDAG GmbH (DE), 51149 Köln, (DE)
(22) 25.09.2024
(43) 10.04.2025
(57) The invention relates to the use of thermal energy that originates from a process for producing cement clinker in which ooff-gas is produced that is enriched with carbon dioxide (CO2).
(71) KHD HUMBOLDT WEDAG GmbH (DE), 51149 Köln, (DE)
